EasyManua.ls Logo

AGRI EASE BE-WC42G - Chipping Operation

AGRI EASE BE-WC42G
12 pages
Print Icon
To Next Page IconTo Next Page
To Next Page IconTo Next Page
To Previous Page IconTo Previous Page
To Previous Page IconTo Previous Page
Loading...
OPERATING INSTRUCTIONS BE-WC42G
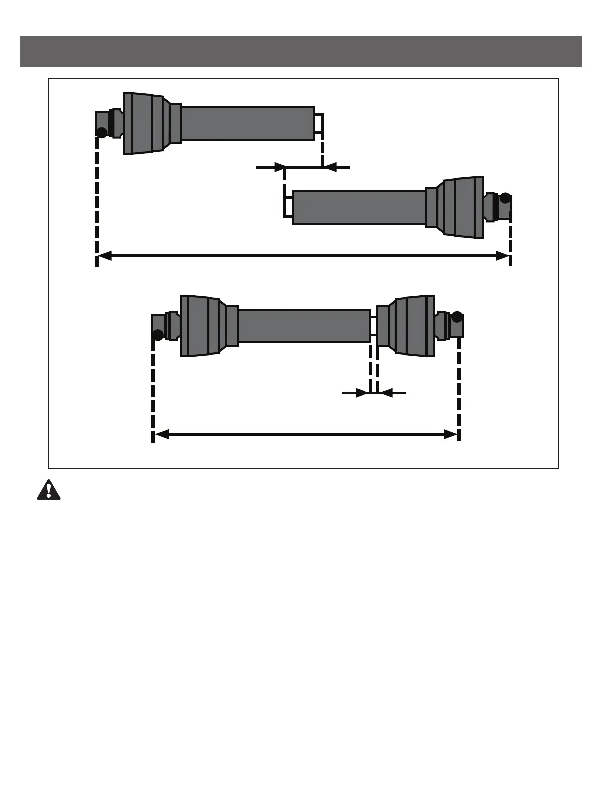
min 3"
MAX.
MIN.
min 1/2"
Never operate the chipper with the hopper in the raised position!
Back tractor to chipper. Connect tractor to chipper using 3-Point hitch and PTO connections. PTO shaft must
have at least 4 inches of overlap on telescoping tube for safe operation.
To engage chipper start tractor engine and gently engage PTO. Increase engine speed to rated PTO RPM.
Operate chipper at rated speed of 540 RPM to 1000 RPM.
CHIPPING OPERATION
Chipper accepts various sizes of branches, depending on model. Small branches can be held together and
fed through in a bundle. Larger limbs may need to have side branches trimmed to eliminate jamming.
Place butt end of limb in chipper chute first. Feed through at a rate which power supply can handle.
Knives need periodic sharpening and will lessen capacity and feeding action of chipper if dull.
Refer to service & maintenance for sharpening instructions.