EasyManua.ls Logo

Aiphone 83873900 0602 E - Page 22

Aiphone 83873900 0602 E
32 pages
Print Icon
To Next Page IconTo Next Page
To Next Page IconTo Next Page
To Previous Page IconTo Previous Page
To Previous Page IconTo Previous Page
Loading...
– 22 –
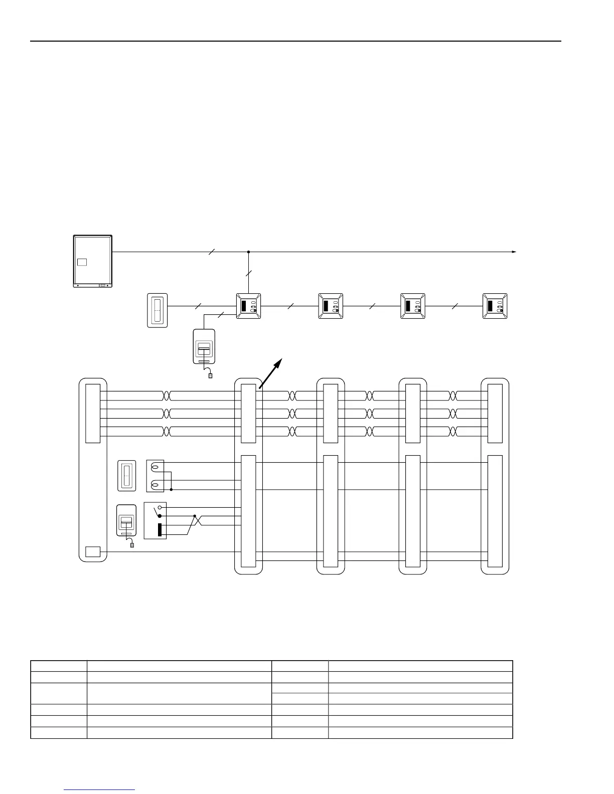
WIRING DIAGRAMS
Multi-Station Patient Room Applications
1. Four bed application covered by four NH-1SA/A sub stations
with a common bathroom pullcord
Multiple NH-1SA/A and NH-2SA/A bedside sub stations can also be installed
within a patient room. Observe the following conditions;
• Max. 6 bedside sub stations may be connected per room for max. 12 calls (when NH-2SA/A stations are used).
• A corridor lamp inside (NHR-4A) must not be connected with more than 4 bedside sub stations.
• Due to the above, install two NHR-4A corridor lamps when more than 4 sub stations are in one
room, i.e. two WHITE lamps used in one NHR-4A, and one RED bulb used in the other NHR-4A.
• NH-1SA/A and NH-2SA/A station numbers must be programmed in numerical order and
connected to the same subs trunk line.
• NHR-7A bathroom pullcord is optional.
NH-1SA/ANH-1SA/A NH-1SA/A NH-1SA/A
1
2
3
4
5
6
WL
RL
E
TC
TL
E
ZL
LC
1
2
3
4
5
6
WL
RL
E
TC
TL
E
ZL
LC
1
2
3
4
5
6
WL
RL
E
TC
TL
E
ZL
LC
1
2
3
4
5
6
WL
RL
E
TC
TL
E
ZL
LC
Z1
11
12
13
14
15
16
3P(or 4P)
3P×2
3P(or 4P)
3 or 4
3
3P×2 3P×2
NHR-4A
NHX-80X
CCU
NHR-7A
(common
bathroom)
NHR-4A
NHR-7A
Brown
Orange
Red
Orange
Brown
Red
Orange
Yellow
Green
Blue
Purple
Brown
Orange
Purple
Gray
Brown
Orange
Purple
Gray
Brown
Orange
Purple
Gray
Yellow
Green
Blue
Blue
(*1)
(*2)
CN1
CN2
To Subs
block 1
Each pair: polarized
TO next patient room
Subs trunk line 1
The above example shows a patient room with four beds, in which a common bathroom pullcord is used.
Multiple sub applications can be arranged in the following manner.
B
e
d
s
i
n
R
oo
m
2
3
4
5
6
S
ubs combination
s
O
ne NH-2
S
A
/
A or two NH-1
S
A
/A
O
ne each NH-2
S
A
/
A & NH-1
S
A
/A
or three NH-1
S
A
/A
Two NH-2
S
A
/
A or four NH-1
S
A
/A
Two NH-2
S
A
/
A & one NH-1
S
A
/A
Three NH-2
S
A
/A
B
e
d
s
i
n
R
oo
m
7
8
9
10
11
12
S
ubs combination
s
T
hree NH-2
S
A
/
A & one NH-1
S
A
/A
F
our NH-2
S
A
/A
F
our NH-2
S
A
/
A & one NH-1
S
A
/A
F
ive NH-2
S
A
/A
F
ive NH-2
S
A
/
A & one NH-1
S
A
/A
S
ix NH-2
S
A
/A
(
*1
)
Terminal Z1 for lighting Lamp 1 in NHR-3A-4
.
(
*2
)
NHR-7A may be wired to any sub station convenient. Terminal RL is wire
d
on
l
y on t
h
e su
b
stat
i
on w
hi
c
h
NHR
-7
A
i
s connecte
d
to
.
N
ote; Bedside sub station Models: NH-1
S
A and NH-2
S
A
C
ANN
O
T be used in multiple bed patient rooms
.

Related product manuals