EasyManua.ls Logo

Airflow DUPLEXVENT DV72 R - Installation Instructions

Airflow DUPLEXVENT DV72 R
24 pages
Print Icon
To Next Page IconTo Next Page
To Next Page IconTo Next Page
To Previous Page IconTo Previous Page
To Previous Page IconTo Previous Page
Loading...
1
5
Installation
Instructions
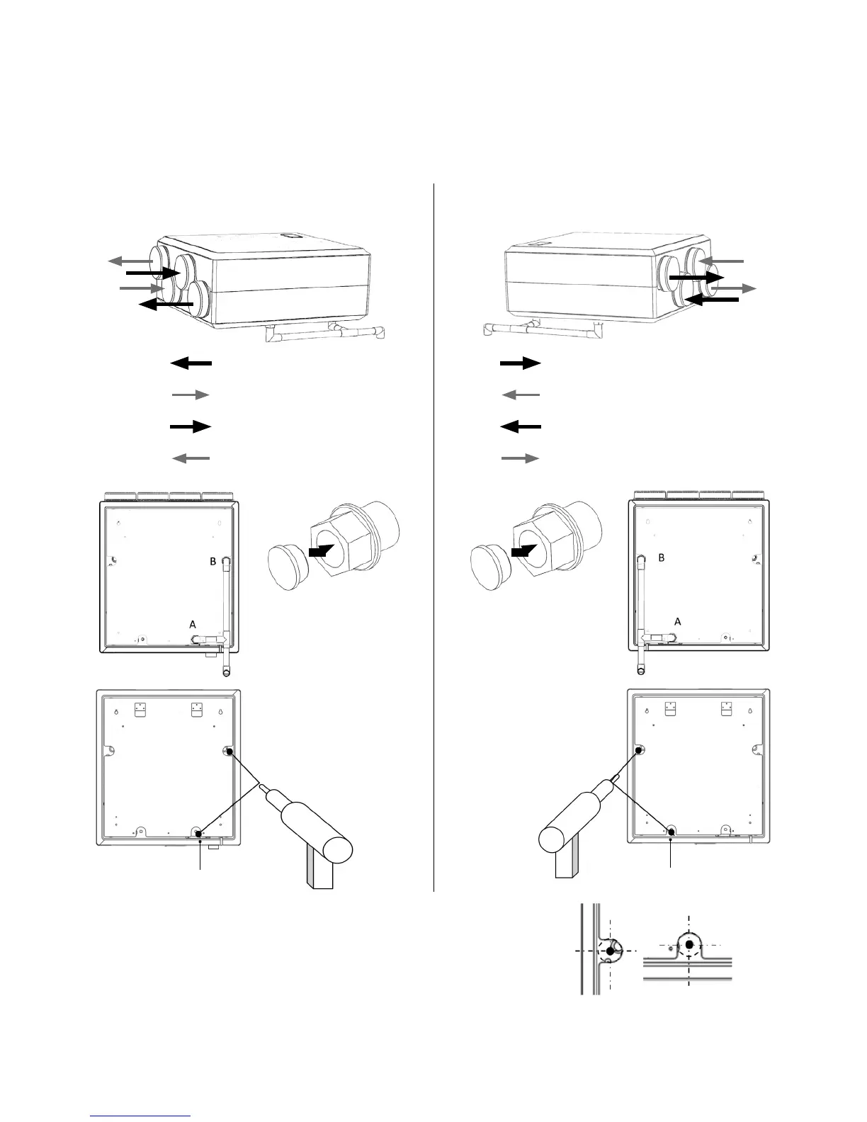
SECOND FIX
-
Drainage for floor mounted units
Floor mount
-
LH drain
Floor mount
-
RH drain
T
o atmosphere
Extract from dwelling
From atmosphere
Supply to dwelling
T
o atmosphere
Extract from dwelling
From atmosphere
Supply to dwelling
Place stopper
provided into the
fitted drain
Place stopper
provided into the
fitted drain
Ø20mm Saw
Ø20mm Saw
Drill into the case as shown, using the metal plate
as a guide. Ensure that the foam core is fully removed.