EasyManua.ls Logo

AIS Matrix - Top and Bottom Tile Retainers

AIS Matrix
24 pages
Print Icon
To Next Page IconTo Next Page
To Next Page IconTo Next Page
To Previous Page IconTo Previous Page
To Previous Page IconTo Previous Page
Loading...
12345
Matrix 2019
www.ais-inc.comwww.ais-inc.com
8
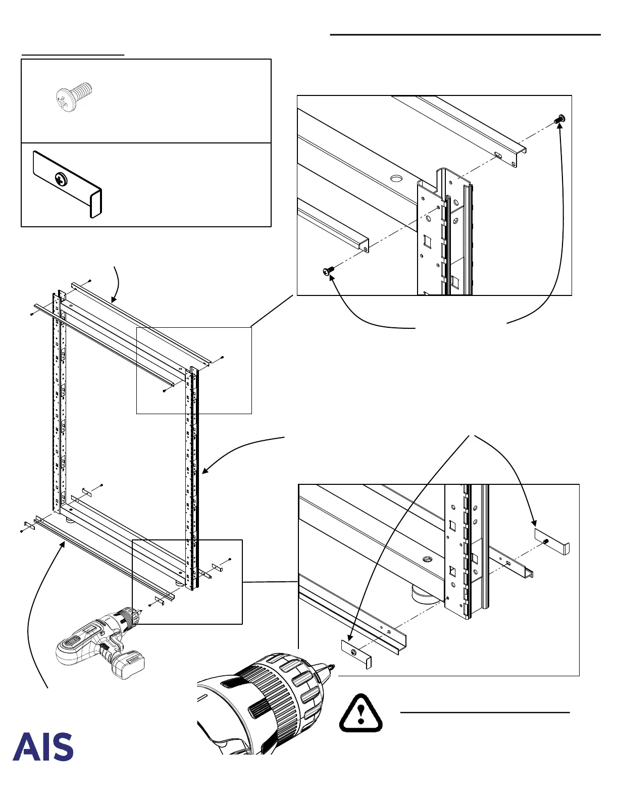
Top and Bottom Tile Retainers
P-MXINSTRUCT01 Rev 07.29.2020
Top Tile Retainer
2 places
Bottom Tile Retainer
2 places
Matrix Frame
(50H x 36W shown)
Required hardware:
#8-32 x 5/16” Pan Head
Machine Screw
#RP-MXHS83214
Use philips drive #2
4 places
Clip Assembly
#RP-M2TCLIP
Use philips drive #2
4 places
#8-32 x 5/16
Pan Head Machine Screw
Philips Drive #2
4 places
Clip Assembly
4 places
IMPORTANT INSTRUCTIONS:
Set cordless drill to medium torque
to prevent stripping