EasyManua.ls Logo

Aiwa HS-TA166 - AIWA HS-TA166 Tape Mechanism Exploded View (P15 NC;P16 NC)

Aiwa HS-TA166
12 pages
Print Icon
To Next Page IconTo Next Page
To Next Page IconTo Next Page
To Previous Page IconTo Previous Page
To Previous Page IconTo Previous Page
Loading...
– 8 –
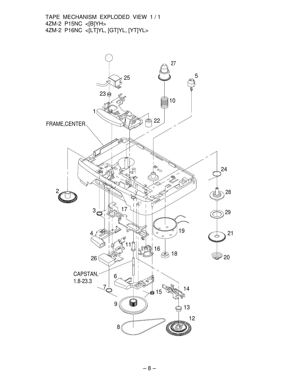
TAPE MECHANISM EXPLODED VIEW 1 / 1
4ZM-2 P15NC <[B]YH>
4ZM-2 P16NC <[LT]YL, [GT]YL, [YT]YL>
1
27
18
17
15
12
13
14
FRAME,CENTER
2
3
4
5
6
7
8
9
26
24
10
22
20
21
23
25
11
16
19
CAPSTAN,
1.8-23.3
28
29
All manuals and user guides at all-guides.com

Related product manuals