EasyManua.ls Logo

Akai AM-2650

Akai AM-2650
52 pages
To Next Page IconTo Next Page
To Next Page IconTo Next Page
To Previous Page IconTo Previous Page
To Previous Page IconTo Previous Page
Loading...
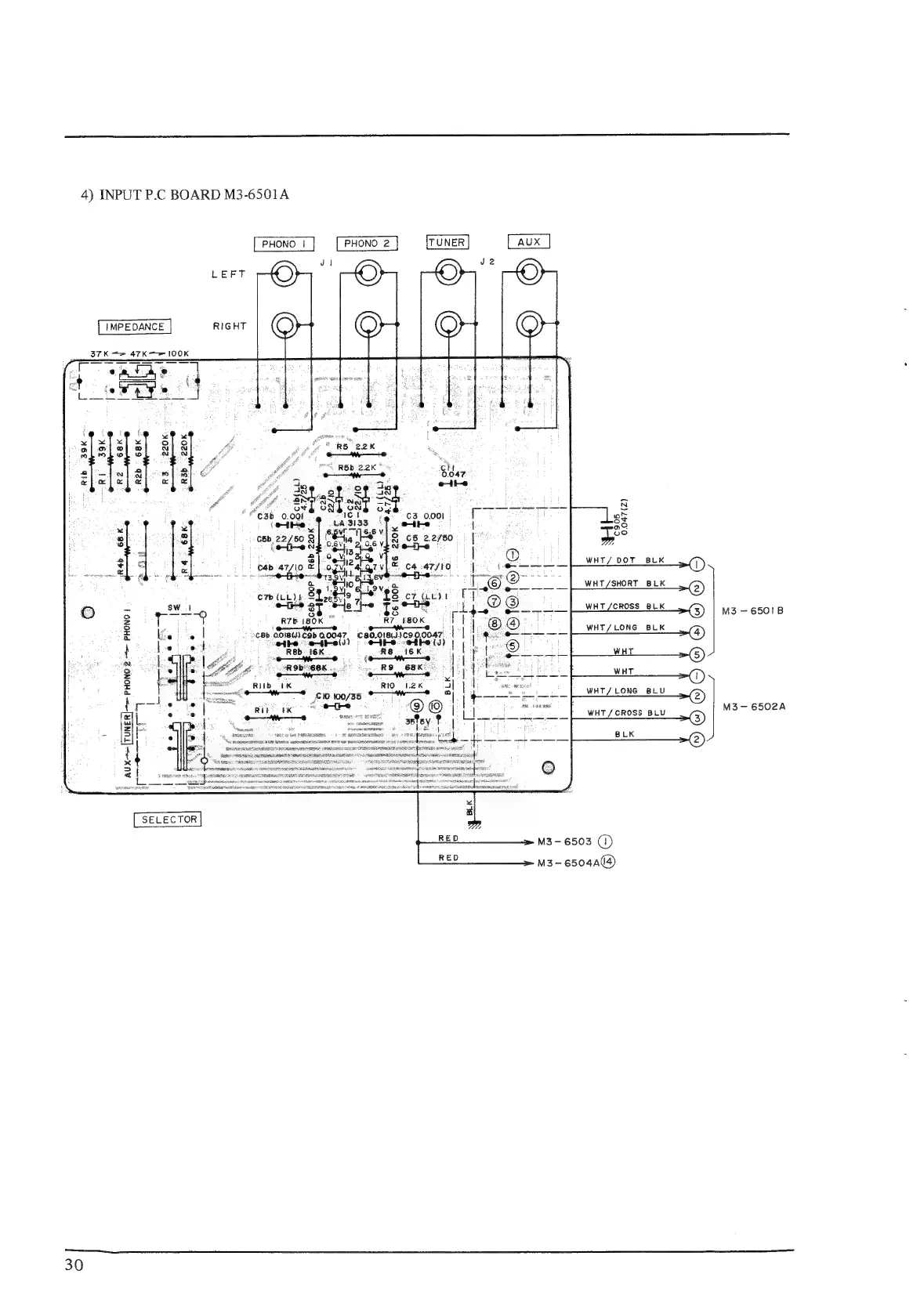
4)
INPUT
P.C
BOARD
M3-6501A
Rib
39K
30
37K
<>
47K~~=
100K
\
o
8
R5
22K
wo
nN
"
Bets
2
2
R5b
2.2
:
[4
ae
ne
;
a
:
‘#636
o,
)
aS
oe
(ete.
oF
:
8
2
Cb
22/50
pee
or
Prat
ek
2
p
2
ey]:
1
21
-
WHT/
DOT
BLK
z|
*
c4b
47/10
&
|.
aici
/
;
eo
LT
/SHORT_BLK
Oui
WHT/CROSS_BLK
R7_
80K
;
:
@
WHT/LONG
BLK
/
2¢Bb.0O1BW).C9b
Q0047,
C80,0181J)C9.0,004"
-—
‘ete
efFe)
“eiPe
-ef-e(
©
Rb
16K
RB
IE
K.-
=
WHT
ee,
:
OR
ODESBK
0
hen
RO
6BKES.
>
wits
WHT/
LONG
BLU
WHT/
CROSS
BLU
BLK
i
AUX—=[TUNER|—>
PHONO
2
>
PHONO
|
=<
SELECTOR
a
RED
M3
-
6503
(1)
ui
M3
-6504A(4)
OOOOMOHMAO
M3
6501B
M3-
6502A

Related product manuals