EasyManua.ls Logo

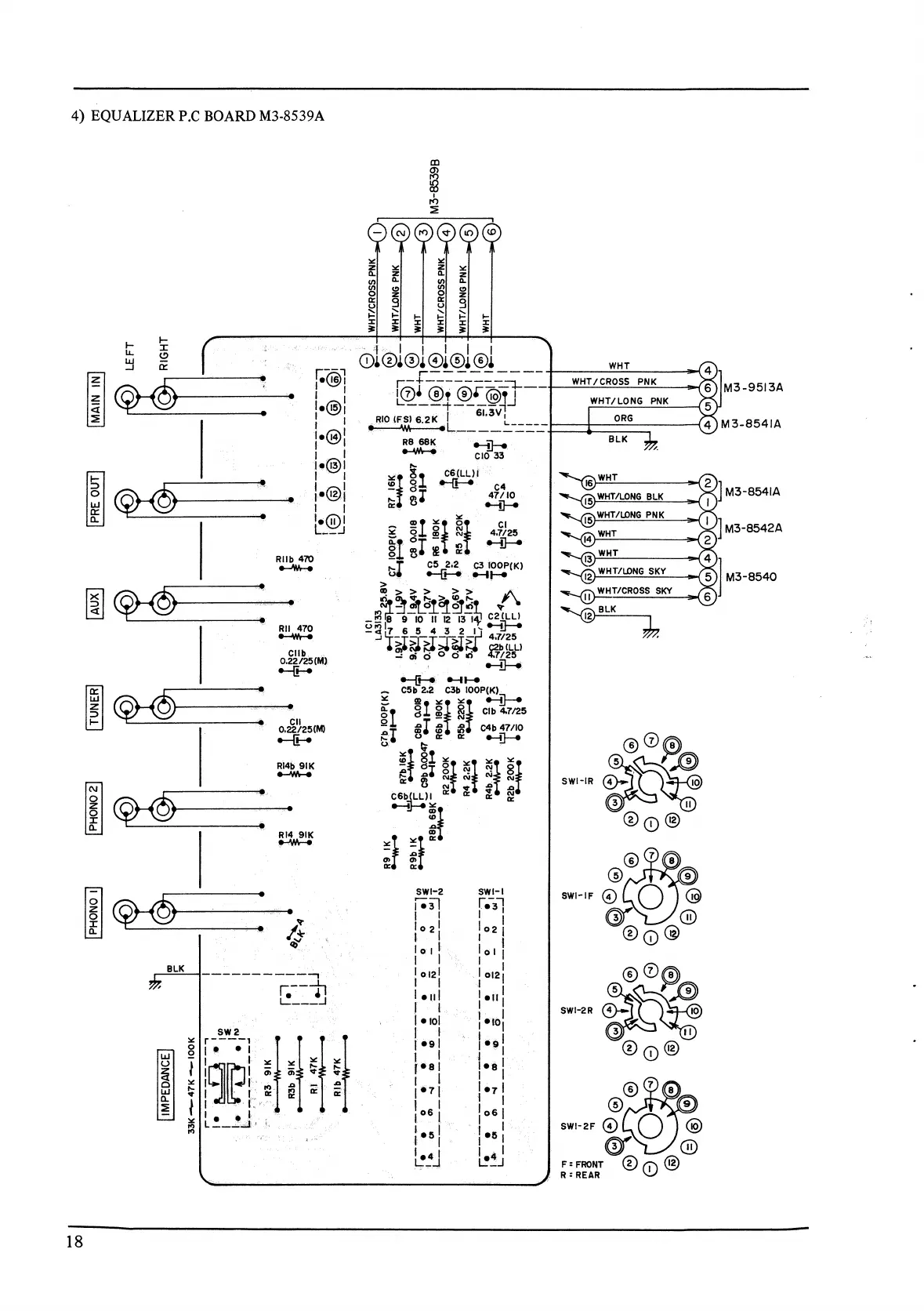
Akai AM-2950 - Equalizer P.C. Board

Akai AM-2950
40 pages
To Next Page IconTo Next Page
To Next Page IconTo Next Page
To Previous Page IconTo Previous Page
To Previous Page IconTo Previous Page
Loading...

Other manuals for Akai AM-2950

Related product manuals