EasyManua.ls Logo

Akai AT-S55/L

Akai AT-S55/L
70 pages
To Next Page IconTo Next Page
To Next Page IconTo Next Page
To Previous Page IconTo Previous Page
To Previous Page IconTo Previous Page
Loading...
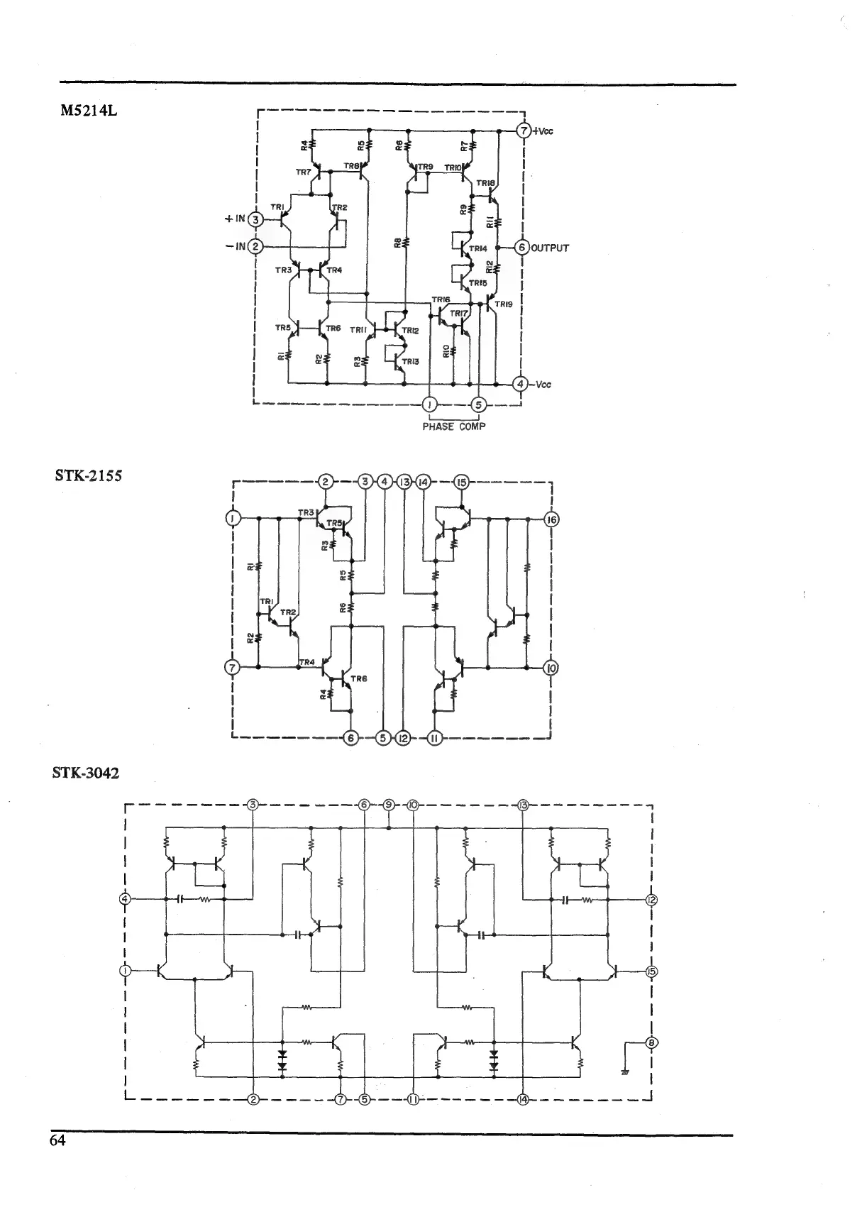
M5214L
STK-2155
STK-3042
64
@-—
——--O--6--—)

Related product manuals