EasyManua.ls Logo

Akin T9HMBL - Leg Assembly Installation; Assembly Steps; Table Plus Installation; Installation with Threaded Inserts

Akin T9HMBL
10 pages
Print Icon
To Next Page IconTo Next Page
To Next Page IconTo Next Page
To Previous Page IconTo Previous Page
To Previous Page IconTo Previous Page
Loading...
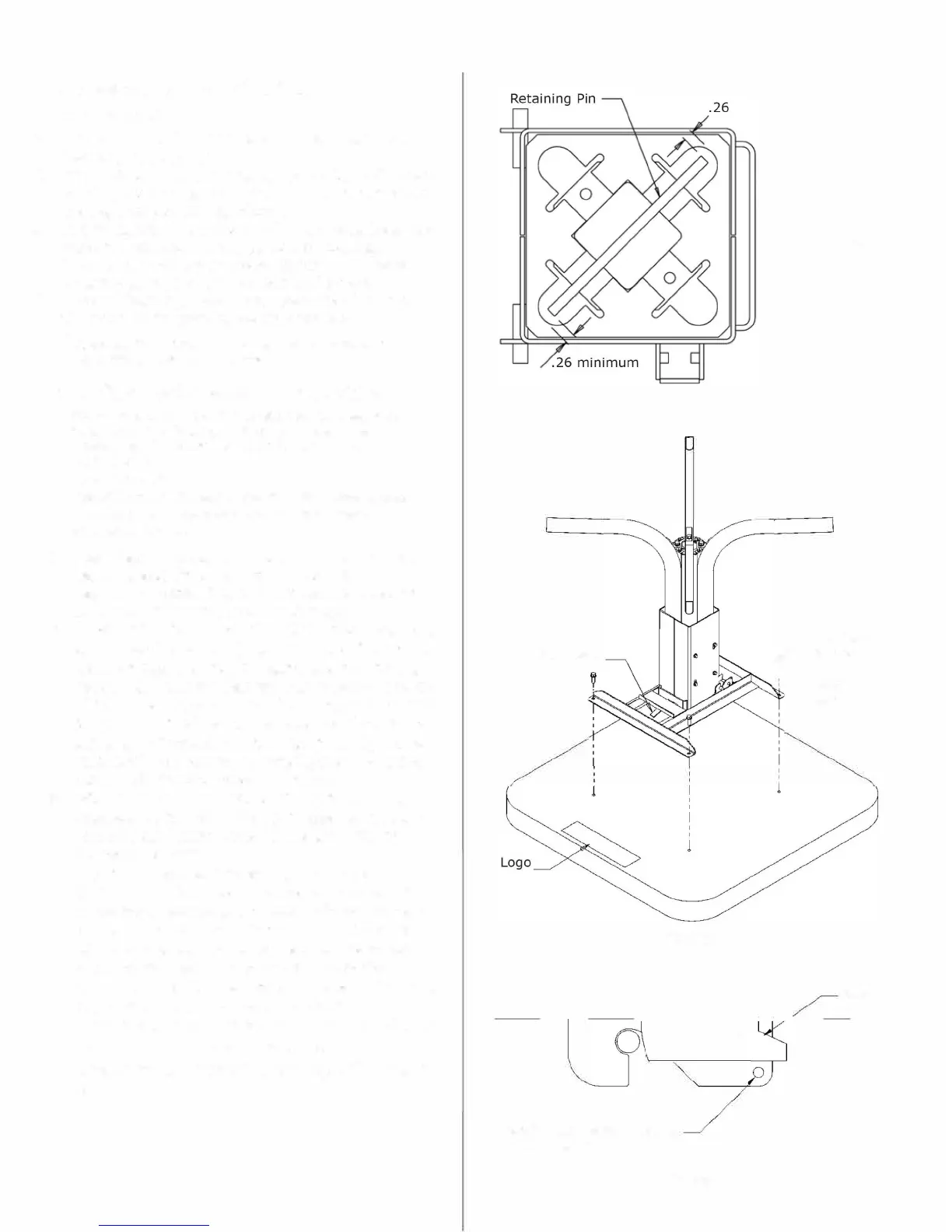
Leg Assembly Installation Instructions

   


      
       
  
      
  
  
 

  
    
caution: 

Table Plus Installation Instructions





 
 


     
    
   
  

 
 



  
 
     


  
 
 

    
  
    
  
  
   
 

  
 
    


Figure 3
Figure 2












Figure 4