EasyManua.ls Logo

Alemite 7342 - Page 9

Default Icon
12 pages
Print Icon
To Next Page IconTo Next Page
To Next Page IconTo Next Page
To Previous Page IconTo Previous Page
To Previous Page IconTo Previous Page
Loading...
Alemite LLC 9 Revision (10-13)
High-Capacity Reel SER 7342
Once the Sheave Assembly is secure:
8. Install the delivery hose through the guide assembly.
9. Connect the delivery hose to the Shaft and Riser
Assembly.
Make sure the connection is secure.
HINT: Orient the hose to allow its natural
curve to match the Sheave.
This reduces torque load on the Power
Spring Assembly and eliminates the ten-
dency of the hose to stack on one side of the
Sheave.
Delivery Hose Attachment
7. Screw the delivery hose (with thread sealant) into
Bushing (7) [if used] as required.
WARNING
Precautions must be taken to ensure the
Sheave Assembly remains engaged with the
Ratchet. To prevent movement either:
instruct an assistant to grip the Sheave
securely with non-slip gloved hands or
install a clamp on the Sheave. See Figure 5.
Personal injury can occur.
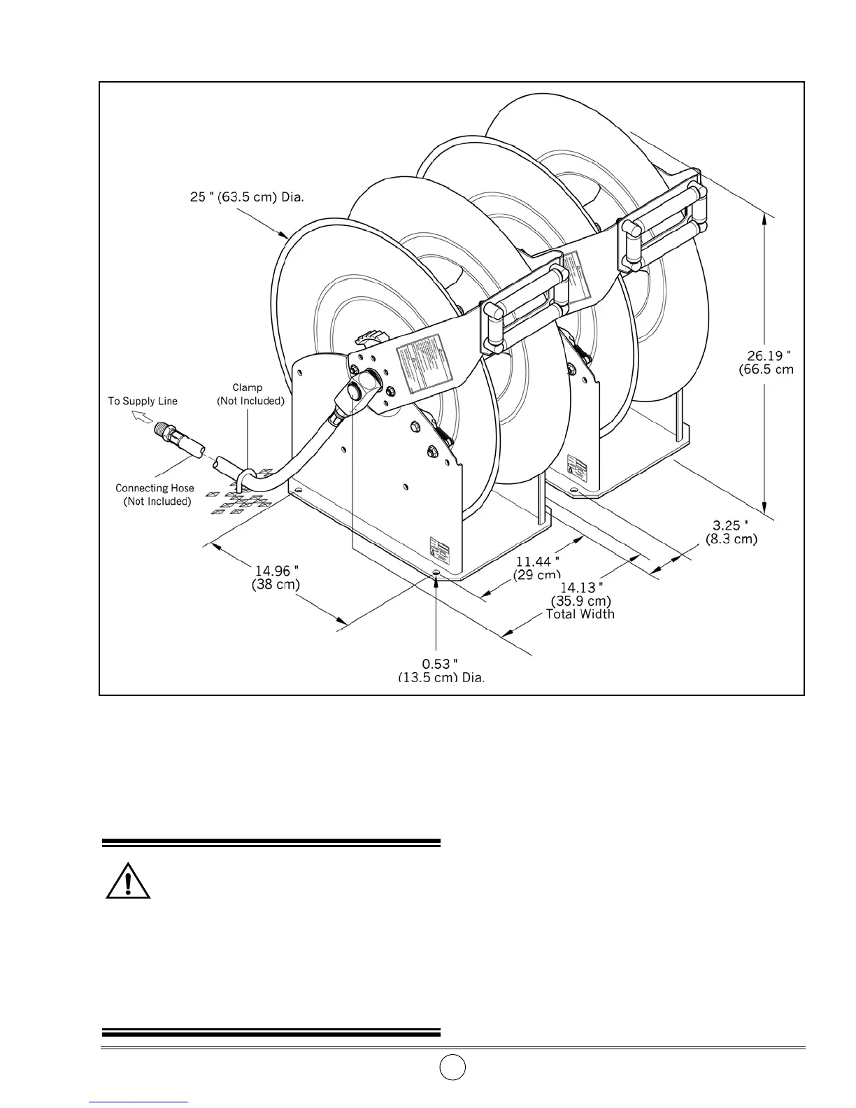
Figure 4 Space Required for Banked Reels (with Bolt Pattern Dimensions)