EasyManua.ls Logo

Allied A80US2VX - Page 41

Default Icon
48 pages
Print Icon
To Next Page IconTo Next Page
To Next Page IconTo Next Page
To Previous Page IconTo Previous Page
To Previous Page IconTo Previous Page
Loading...
508033-02 Issue 2135 Page 41 of 48
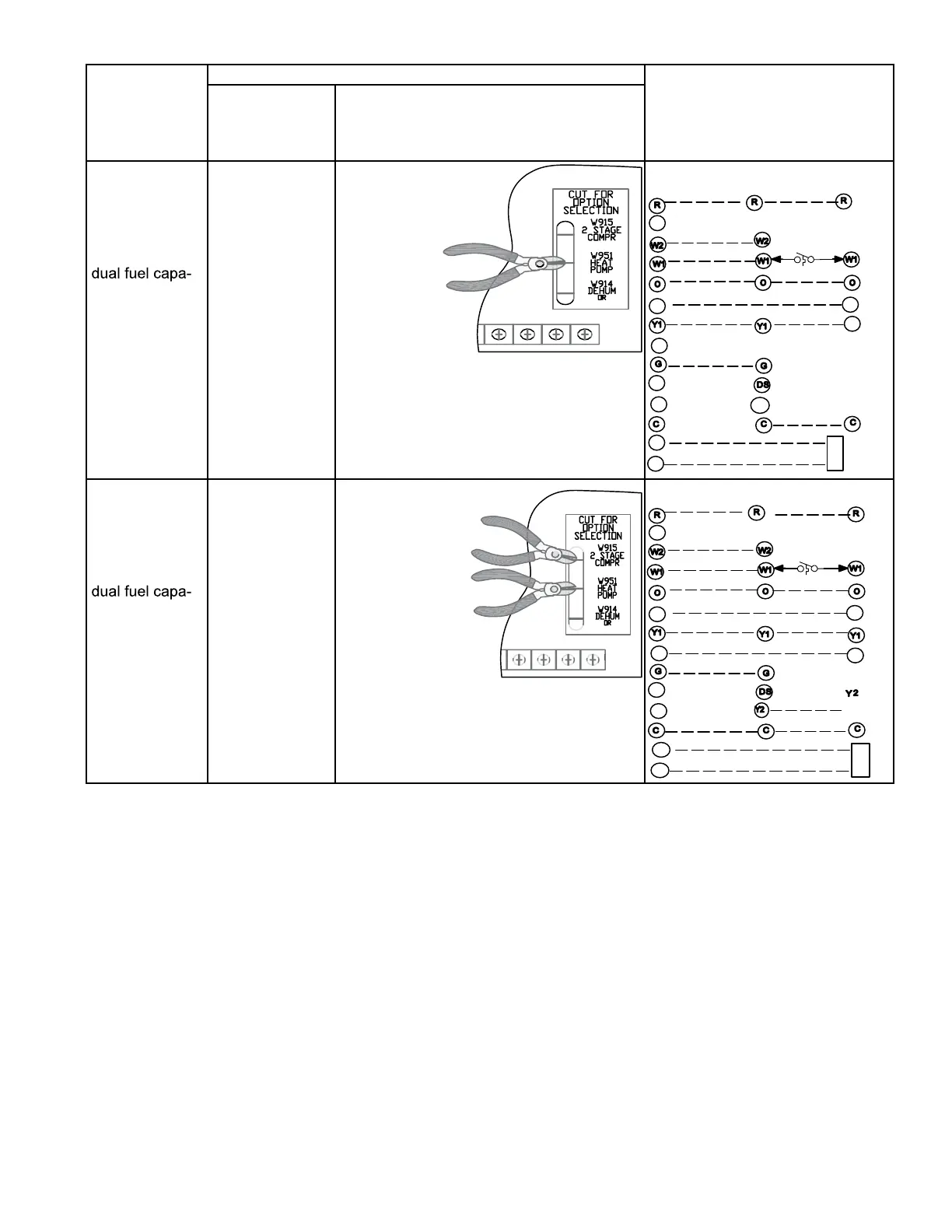
Thermostat
DIP Switch Settings and On-Board Links
Wiring Connections
DIP Switch 1
Thermostat
Heating
Stages
On Board Links Must Be Cut To Select
System Options
Dual Fuel
Single Stage
Heat Pump
Thermostat w/
bilities
Capable of 2
stage gas heat
control
OFF
CUT ON-BOARD LINK
W951
HEAT
PUMP
T'STAT
FURNACE
TERM. STRIP
HEAT PUMP
67M41*
Y
H
L
Y2
D
B
L
Y2
T
T
outdoor
sensor
Dual Fuel
Two Stage
Heat Pump
Thermostat w/
bilities
Capable of 2
stage gas heat
control
OFF
CUT ON-BOARD LINK
W951
HEAT
PUMP
CUT ON-BOARD LINK
W915
2 STAGE
COMPR
FURNACE
TERM. STRIP
HEAT PUMP
out blue
67M41*
H
L
Y2
D
B
L
Y2
T
T
outdoor
sensor
T'STAT
* Connect W1 to W1 ONLY if using defrost tempering kit 67M41
NOTE - Do NOT make a wire connection between the room thermostat L terminal and the L terminal of the furnace
integrated control.
ZONING
ZONING
Table 21C. Field Wiring With Conventional Thermostat (Continued)

Related product manuals