EasyManua.ls Logo

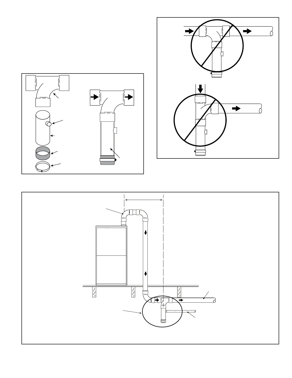
Allied A96UH1E - Crawl Space Venting; Exhaust through Crawl Space Vent Option; Figure 49. Kit 51 W18 (USA); 15 Z70 (Canada) Parts Identification and Assembly; Figure 50. Crawl Space Vent Pipe Drain Trap Assembled Incorrectly

Allied A96UH1E
57 pages
Print Icon
To Next Page IconTo Next Page
To Next Page IconTo Next Page
To Previous Page IconTo Previous Page
To Previous Page IconTo Previous Page
Loading...
508297-01 Page 33 of 57Issue 2219
Exhaust through Crawl Space Vent Option
All 33” condensing gas furnaces (92%+) are now approved
to be vented down through a crawl space. Ensure a vent
pipe drain kit, 51W18 (USA) or 15Z70 (Canada), is used as
directed through the oor joists and into the crawl space.
See the following gures.
Consult the vent tables for vent lengths and approved
materials.
2” or 3”
Sanitary Tee
1/2” PVC
Drain Stub
Drain Trap
Assembly
Rubber Boot (51W18)
Drain Plug (15Z70)
Clamp
(51W18 Only)
From
Furnace
To Vent
Termination
Drain Trap
(assembled)
Figure 49. Kit 51W18 (USA) / 15Z70 (Canada) Parts
Identication and Assembly
Exhaust from
Furnace
To Termination
Exhaust from
Furnace
To Termination
* Kit 51W18 is shown.
Figure 50. Crawl Space Vent Pipe Drain Trap
Assembled Incorrectly
Figure 51. Upow or Downow Furnace with Exhaust through Crawl Space
KIT 51W18 (USA)
Basement Floor
To Termination
1/2” PVC to
Code-Approved
Drain
24” max.
Downflow Furnace
Exhaust
KIT 15Z70 (Canada)
* Kit 51W18 is shown.
NOTE: Upow furnaces exhaust from the left side. All dimensions shown are typical for upow or downow furnaces.
NOTE: All horizontal runs of exhaust pipe must slope back toward the kit a minimum of 1/4” (6mm) for each 12” (305mm) to ensure drainage.

Related product manuals