EasyManua.ls Logo

Allstar LP1000 - Page 22

Allstar LP1000
24 pages
Print Icon
To Next Page IconTo Next Page
To Next Page IconTo Next Page
To Previous Page IconTo Previous Page
To Previous Page IconTo Previous Page
Loading...
22
NO CHILDREN OR PETS ALLOWED: Never allow a child to
operate gate controls, “ride” a gate, or play in the area of a gate.
Install and store all controls out of children’s reach. Also, pets must be
kept away from the gate. Install a pedestrian gate in applications where
children or pets need access.
This entrance is for vehicles only. Pedestrians must use a separate entrance.
KEEP GATE IN SIGHT: Never activate the gate unless it is in
sight. Install mounted controls in full view of the gate. Be sure the
gate area is clear before activating the gate, and watch the gate and gate area
as the gate is in motion.
LOCATE MANUAL CONTROLS SAFELY: A manual
control such as a pushbutton or keyswitch must be included in
your gate system design to be used if automatic controls such as radio
controls or loop detectors do not function. Carefully consider the placement
of the manual control: It must be out of reach of the gate so that no one
pushing the button or inserting the card is in the path of the gate or moving
parts; it must also be within sight of the gate so that the operator can watch
the gate and gate area during operation. The recommended minimum
distance between the gate or fence and manual control accessory is 10 feet.
INSTALL SAFETY DEVICES: In residential applications or in
areas where pedestrians may be present, or if your gate closes
automatically, be sure an electric edge(s) and/or a photoelectric sensor(s)
has (have) been installed and is/are operating properly. These features are
intended to detect pedestrian traffic and prevent injury or entrapment.
Loop detectors may be installed to detect vehicular traffic and prevent
vehicular damage.
MAINTAIN THE GATE AND GATE HARDWARE: A
damaged gate or one that cannot be easily opened and closed
manually must be repaired before installing a gate operator. A poorly
operating gate may cause the load sensing device of the operator to fail,
causing a risk of entrapment. Never overtighten the clutch or load sensing
device to compensate for a poorly operating slide gate. Correct all
mechanical problems on the gate and gate hardware before installing the
gate operator. Have a qualified service technician make repairs to the gate
and gate hardware.
MAINTAIN ALL COMPONENTS OF GATE SYSTEM:
Follow the maintenance instructions included with the gate, the
gate operator, and the safety features and/or accessories that make
up your gate operator system. Have a professional service technician
perform any adjustments or maintenance to the components. Fully test all
safety features monthly. If faulty equipment is discovered or suspected,
discontinue the use of the gate operator system immediately, and have
the equipment serviced or replaced by a qualified service technician.
The gate must reverse on contact with a solid, rigid object or when an object
activates the non-contact sensors. After adjusting the force or limits of
travel, retest the gate operator. Failure to adjust and retest the gate operator
properly can increase the risk of injury or death.
106709
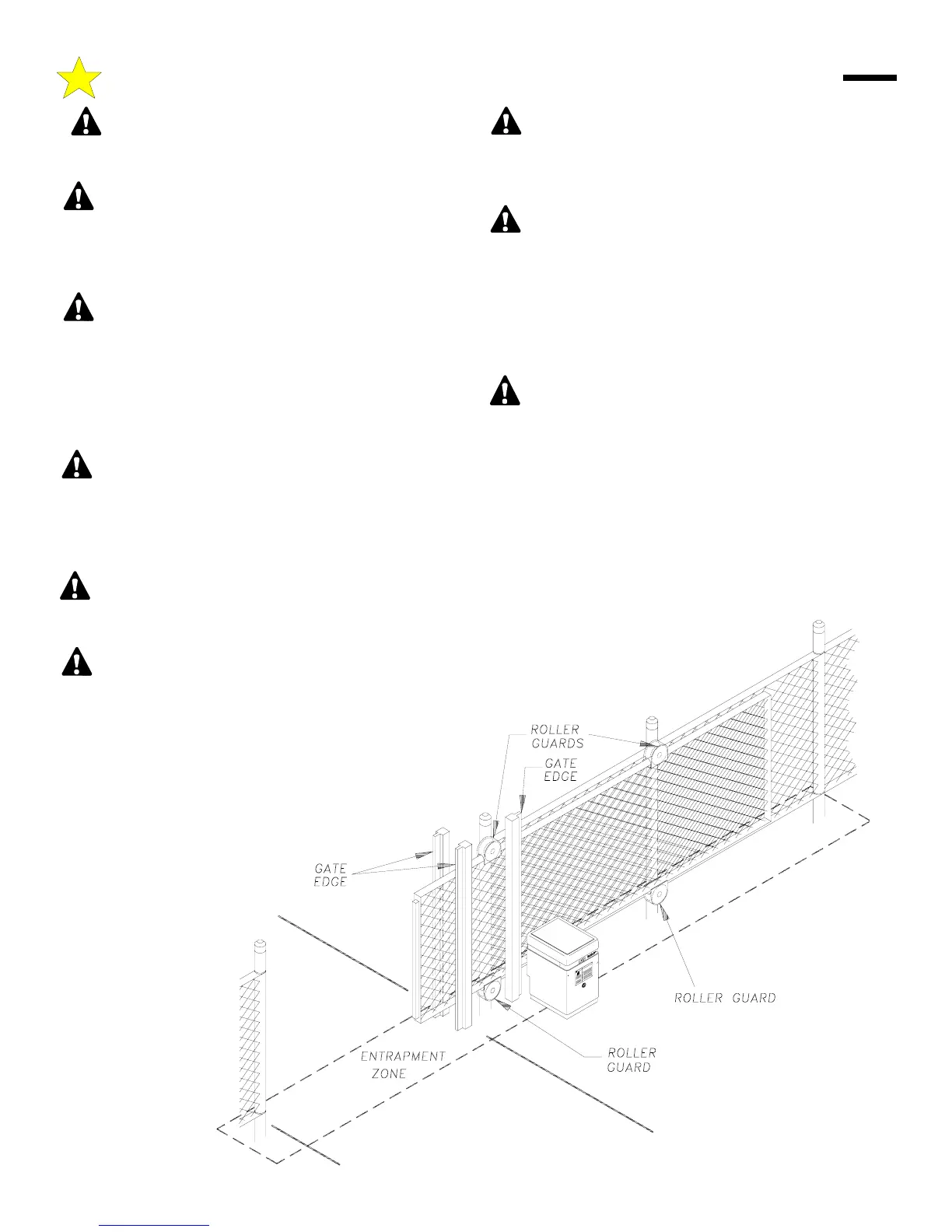
Figure 26: Pinch Points
AVOID ENTRAPMENT: Stay away from the path of the gate
and all moving parts (gate arms, etc.) at all times. Keep clear of the
pinch points identified below. Install guards or other safety features to
prevent access to pinch point areas. Install guards on open rollers.
PREVENT PERSONAL INJURY OR DEATH: Do not stand
near or on the gate. Gate may be activated without notice. Do not
allow anyone to “ride” the gate, or place arms or legs through the gate. The
force of the gate can cause serious personal injury or death. No one should
cross the path of a moving gate.
MANUAL OPERATION - The gate can be moved open or
close in case of power failure or other need to move the gate
manually without disconnecting the operator chain. Remove power
from the unit (if not already off) and firmly grasp the leading edge of the
gate. Push or pull the gate in the direction desired. The amount of force
required to move the gate will depend on the gate weight and the
inherent friction of the overall system. Manual operation is to be
attempted only when the operator is not moving under power.
F: END USER INSTRUCTIONS GATE OPENER OPERATION AND SAFETY GUIDE