EasyManua.ls Logo

Alpha CD24 - Page 5

Alpha CD24
44 pages
Print Icon
To Next Page IconTo Next Page
To Next Page IconTo Next Page
To Previous Page IconTo Previous Page
To Previous Page IconTo Previous Page
Loading...
5
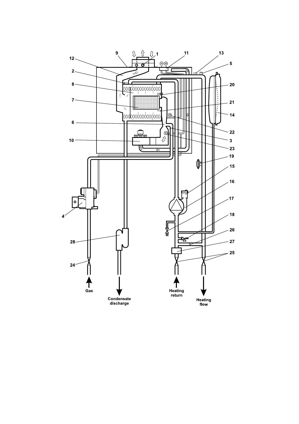
2.10 CD24S BOILER SCHEMATIC
Alpha CD24/32 - Technical Data
1 - Flue sampling point
2 - Flue thermostat
3 - Injector
4 - Gas valve
5 - Primary temperature sensor
6 - Venturi
7 - Main burner
8 - Primary/condensing heat exchanger
9 - Room sealed chamber
10 - Fan
11 - Pressure differential test points
Fig. 2A
12 - Flue hood
13 - Overheat thermostat
14 - Expansion vessel
15 - Automatic air vent
16 - Pump
17 - Drain point
18 - Pressure relief valve
19 - Primary pressure switch
20 - Ignition electrodes
21 - Flame sensing electrode
22 - Venturi negative point
23 - Venturi positive point
24 - Gas service cock
25 - On/off valve (2 off)
26 - Automatic by-pass
27 - Cyclone separator
28 - Condensate trap

Related product manuals