EasyManua.ls Logo

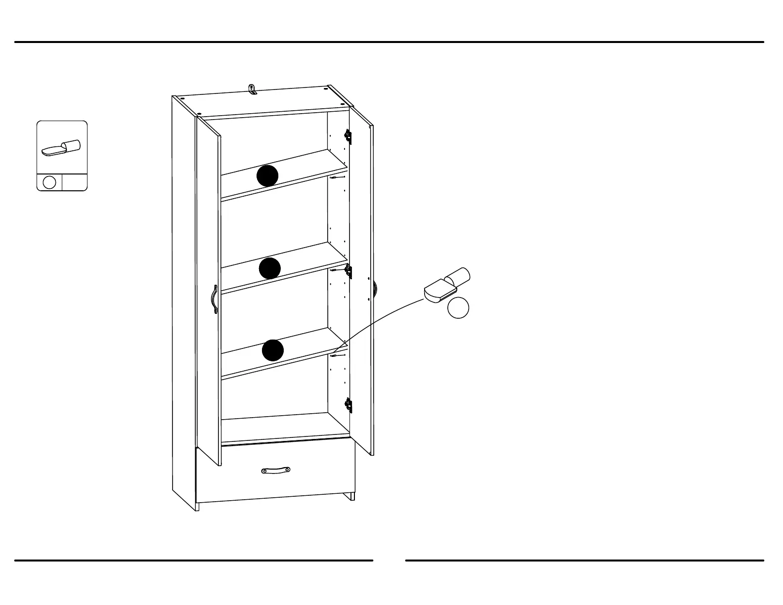
Ameriwood HOME 9450333EBL - Shelf Pad Placement

Ameriwood HOME 9450333EBL
24 pages
Print Icon
To Next Page IconTo Next Page
To Next Page IconTo Next Page
To Previous Page IconTo Previous Page
To Previous Page IconTo Previous Page
Loading...
16
B349450333EBL0
22 /24
www.ameriwood.com
13 12x
13
D
D
D

Related product manuals