EasyManua.ls Logo

AMSTRAD CPC664 - Page 14

Default Icon
31 pages
Print Icon
To Next Page IconTo Next Page
To Next Page IconTo Next Page
To Previous Page IconTo Previous Page
To Previous Page IconTo Previous Page
Loading...
ALIGNMENT
CHECKS
(cont)
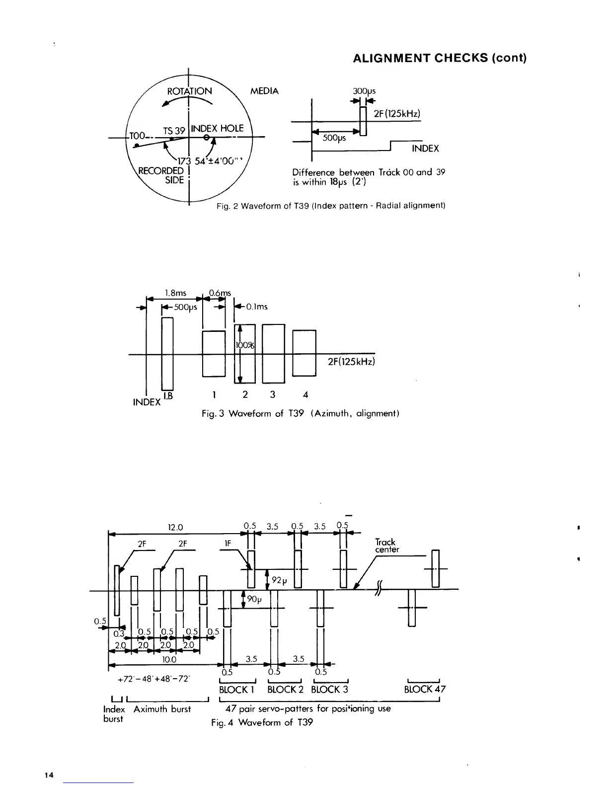
MEDIA 300us
500us
2F
(125kHz
INDEX
Difference between
Track 00
and 39
is
within
18us
(2')
Fig.
2 Waveform
of T39
(Index pattern
-
Radial
alignment)
1.8ms
-500us
0.6 ms
-0.1ms
100*
INDEX
I.B
1
2
3
2F(125kHz)
Fig. 3
Waveform of
T39 (Azimuth,
alignment)
12.0
0.5
3.5
0.5 3.5
0.5
+72'-48'+48'-72'
L
BLOCK
1 BLOCK 2 BLOCK 3
J
L
BLOCK
47
l
Index
Aximuth burst
burst
47 pair
servo-patters
for positioning use
Fig.
4 Waveform of T39
14

Related product manuals