EasyManua.ls Logo

Andco Eagle - Component Identification and Drawings; Eagle Actuator Parts Diagram

Andco Eagle
12 pages
Print Icon
To Next Page IconTo Next Page
To Next Page IconTo Next Page
To Previous Page IconTo Previous Page
To Previous Page IconTo Previous Page
Loading...
7
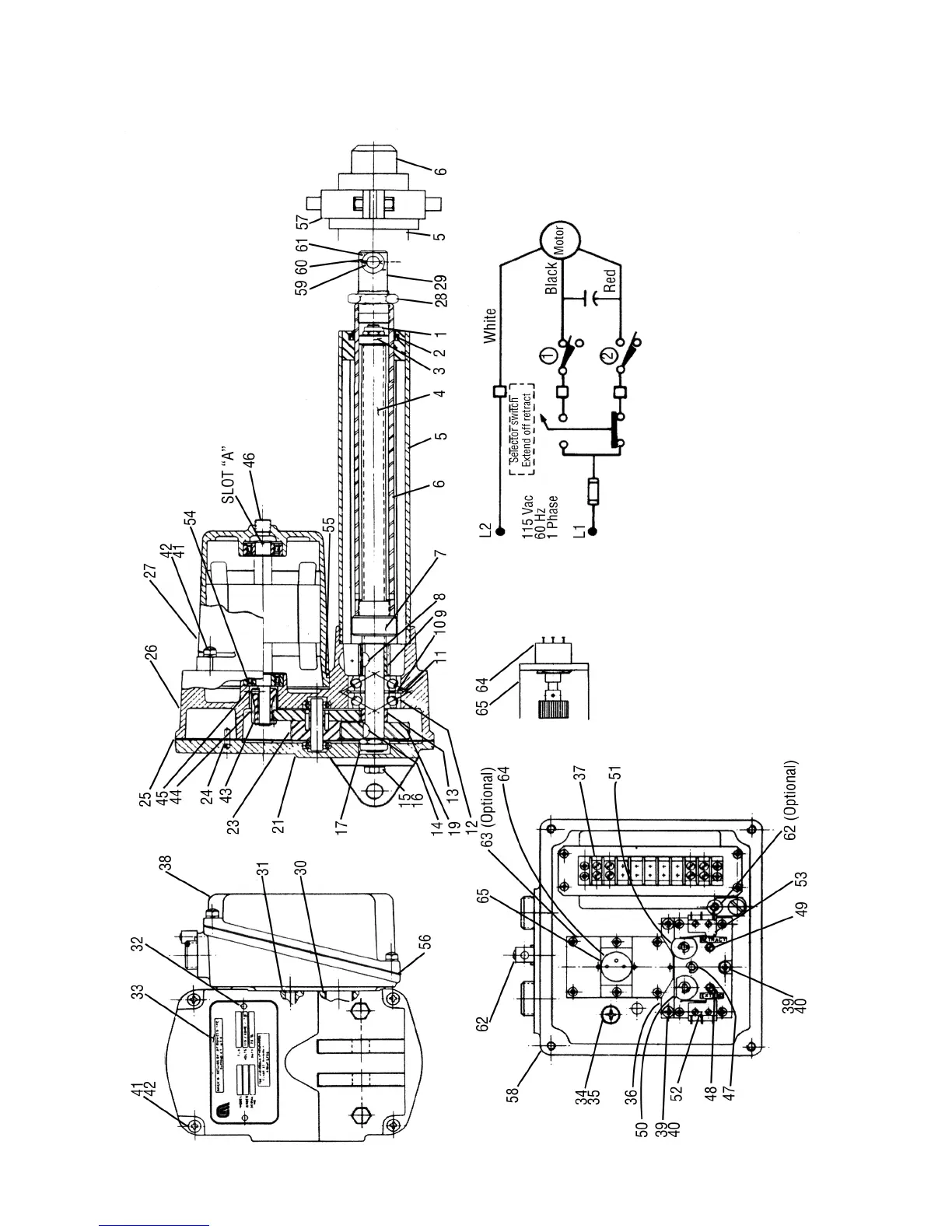
Figure 2 - Eagle Actuator Parts Drawing