EasyManua.ls Logo

AquaSource FS3A0000 - Page 14

AquaSource FS3A0000
18 pages
Print Icon
To Next Page IconTo Next Page
To Next Page IconTo Next Page
To Previous Page IconTo Previous Page
To Previous Page IconTo Previous Page
Loading...
INSTRUCTIONS POUR L’ASSEMBLAGE / INSTRUCCIONES DE ENSAMBLAJE
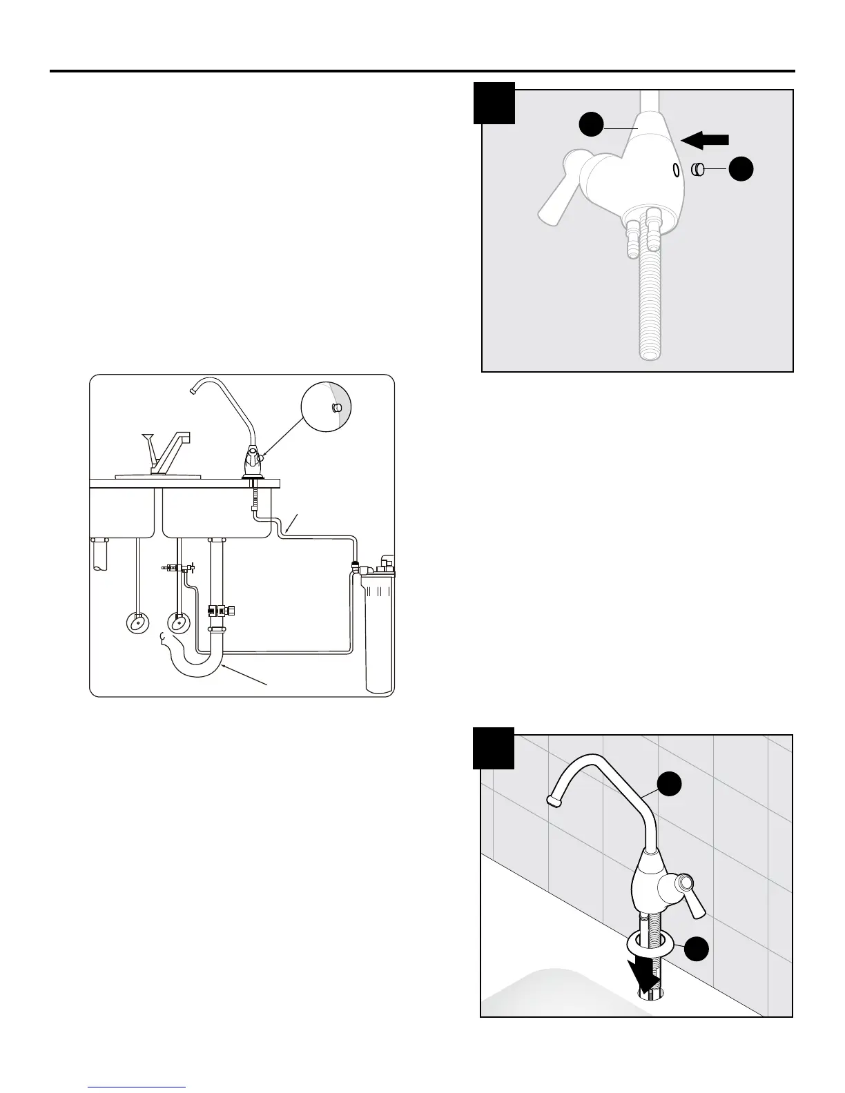
4. Posez le distributeur (A) et la base (D) dans le
trou de l’évier (non inclus).
Instale el dispensador (A) y la base (D) a través
de la parte superior del fregadero (no se incluye).
3.2. Si le système de ltrage est un système
simple doté d’une seule sortie d’eau, ignorez
l’étape 3.1. Le bouchon pour système sans
coupure antiretour (F) facultatif peut être
utilisé pour boucher le trou de l’antiretour
situé sur le côté du robinet.
Si el sistema de ltrado es un sistema simple
y solo tiene una salida, vaya al paso 3.1. El
tapón sin espacio de aire opcional (F) puede
usarse para cubrir el oricio del espacio de
aire que se encuentra en el costado del grifo.
3.2
A
F
4
A
D

Related product manuals