EasyManua.ls Logo

ARDES ARPHON01 - Page 36

ARDES ARPHON01
Print Icon
To Next Page IconTo Next Page
To Next Page IconTo Next Page
To Previous Page IconTo Previous Page
To Previous Page IconTo Previous Page
Loading...
Karbantartás
Húzza ki a készülék cstalakozó zsinórját a csatlakozó aljzatból és
hagyja a készüléket kihűlni mielőtt elkezdené tisztítani.
A tisztításhoz használjon puha vagy enyhén nedves kendt.
Ne használjon kémiai vagy maró anyagokat!
Figyelem:Tartsa a készüléket szárazon.
SOHA NE HELYEZE A KÉSZÜLÉKET VĺZALÁ
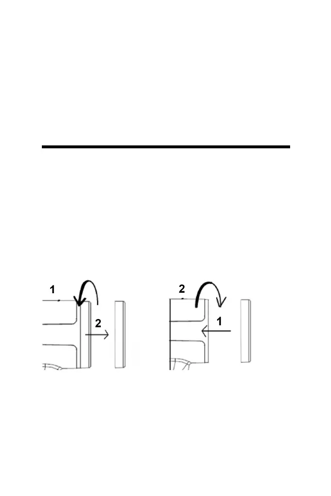
A levegő-bemeneti szűrő tisztítása:
Győződjön meg arról, hogy a készülék ki van kapcsolva és a csatlakozó
zsinór ki van húzva az aljzatból.
Vegye ki a szűrőt (Fig. A) és mossa át, kizárólag vízzel.
Miután alaposan megmosta, ismét szerelje vissza (Fig. B).
HU
A készülék kikapcsolásához állítsa a légáramláskapcsolót “0” állásba.
Használat után húzza ki a dugót.
FIGYELMEZTETÉS!
- Tárolás előtt hagyja lehűlni a készüléket.
- Ne tekerje a hálózati kábelt a készülék köré.
FIG. A
FIG. B
36

Related product manuals