EasyManua.ls Logo

ARDES ARPHON01 - Curatare si Intretinere

ARDES ARPHON01
Print Icon
To Next Page IconTo Next Page
To Next Page IconTo Next Page
To Previous Page IconTo Previous Page
To Previous Page IconTo Previous Page
Loading...
Curatare si intretinere
RO
Înainte de a începe să curăţaţi aparatul, asiguraţi-vă ca acesta este
oprit şi scos din priză. lăsați aparatul se răcească bine înainte
de a-l curăța.
Curăţaţi aparatul cu o cârpă moale, uşor umezită.
Nu utilizaţi sub nicio formă produse abrazive sau solvenţi chimici.
Păstraţi aparatul curat.
NU INTRODUCEŢI NICIODAAPARATUL ÎN APĂ
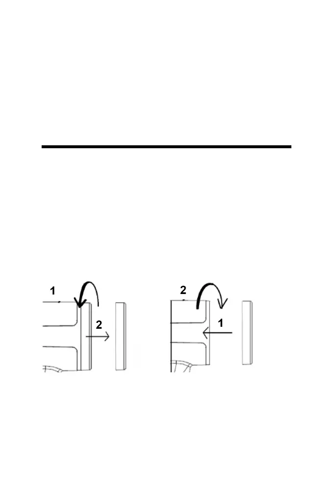
Curăţarea ltrului de aspiratie:
Asiguraţi-vă că aparatul este închis şi scos din priză.
Scoateţi ltrul (Fig. A) şi spălaţi-l., utilizând exclusiv apă. Uscaţi-l cu grijă
şi montaţi-l corect (Fig. B).
Pentru a opri aparatul, poziționați comutatorul de debit de aer pe “0”.
Deconectați ștecherul după utilizare.
AVERTISMENT:
- Lăsați aparatul să se răcească înainte de a-l depozita.
- Nu înfășurați cablul de alimentare în jurul aparatului.
FIG. A
FIG. B
42

Related product manuals