EasyManua.ls Logo

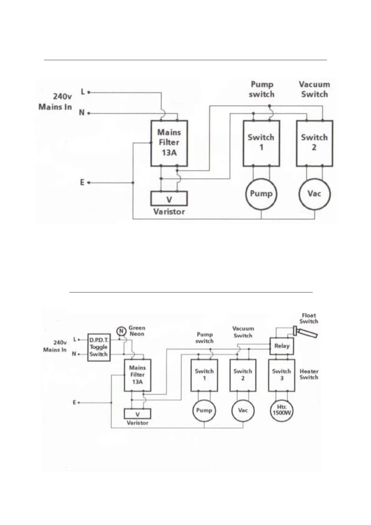
Ashbys SENSEI - Wiring Diagram for MK1 Sensei Without Heater; Wiring Diagram for MK1 Sensei with 1500 W Heater

Default Icon
13 pages
Print Icon
To Next Page IconTo Next Page
To Next Page IconTo Next Page
To Previous Page IconTo Previous Page
To Previous Page IconTo Previous Page
Loading...
Page 12 of 13
Wiring Diagram for MK1 Sensei without Heater
Wiring Diagram for MK1 Sensei with 1500W Heater