EasyManua.ls Logo

Ashly Protea 4.24D - 8 Other Software Functions; Channel Preset File Management

Ashly Protea 4.24D
20 pages
Print Icon
To Next Page IconTo Next Page
To Next Page IconTo Next Page
To Previous Page IconTo Previous Page
To Previous Page IconTo Previous Page
Loading...
Operating Manual - PROTEA SYSTEM II 4.24D Distribution / System Processor
14
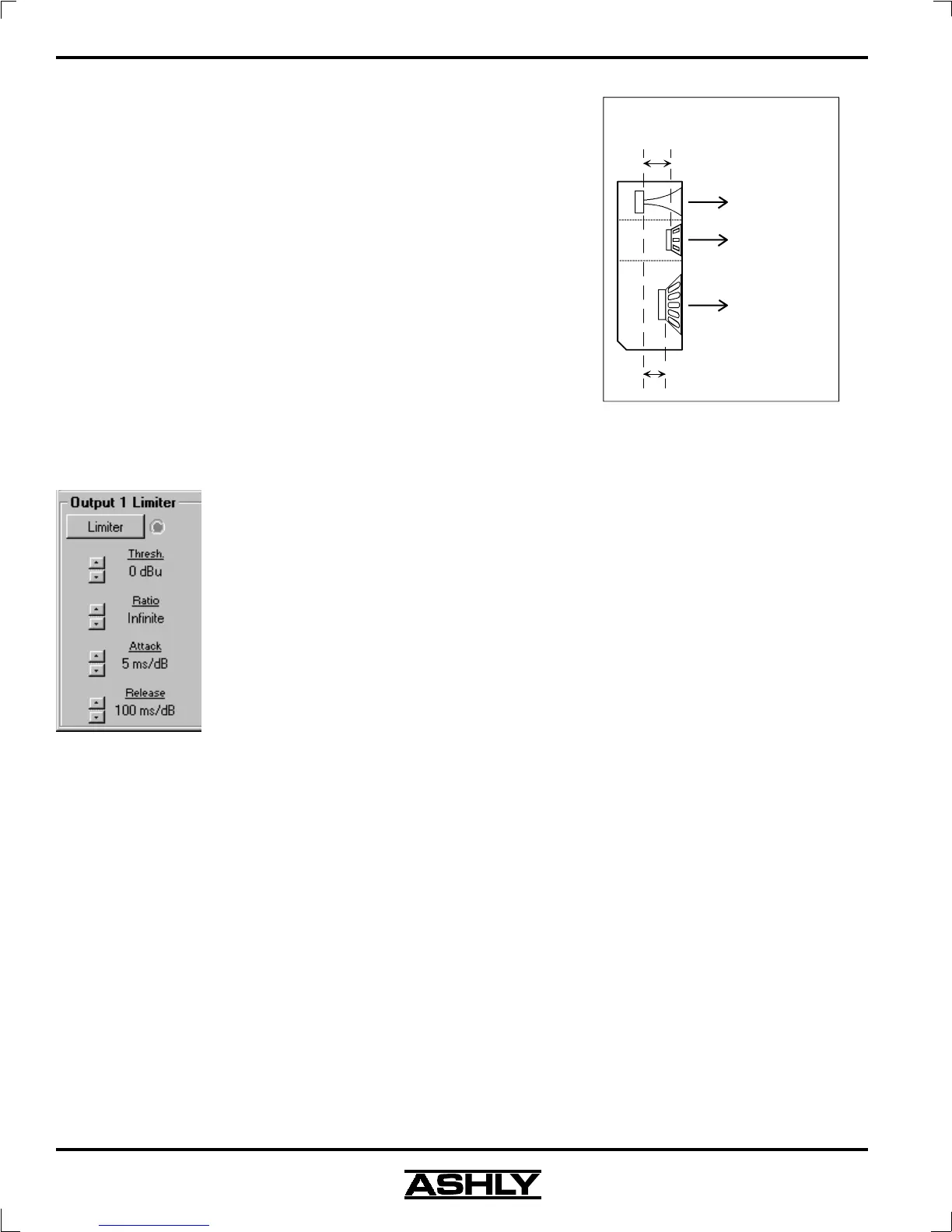
A second application for delay is to time align discrete drivers within a
cabinet or cluster. For example, a typical three way speaker cluster would have
low end, midrange, and high frequency drivers all located near one another.
The different drivers for each frequency band are not necessarily the same physi-
cal depth with respect to the front of the loudspeaker cluster, so there exists the
problem of the same signals (at the crossover points) arriving at the cluster
"wavefront" at different times, creating undesirable wave interaction such as
frequency peaks or cancellation. The solution in this case, rather than fixing the
frequency anomalies with EQ, is to slightly delay the signal to the drivers clos-
est to the cluster front.
Using the location of the driver diaphragm farthest back as a reference
point, measure the distance to other drivers in the cluster, and set the output
delay for each accordingly, with the driver diaphragm closest to the front get-
ting the longest delay and the driver at the very back getting no delay at all. The
minimum adjustment is 0.02 milliseconds, or about ¼ inch. When appropriate,
always time align the loudspeakers before applying EQ to the outputs of the
4.24D.
7.4h Limiter
A full function compressor/limiter is included on each output channel. A limiter is
commonly used to prevent transient audio signal spikes from damaging loudspeakers, manage
analog and digital recording levels, optimize broadcast levels, or "thicken" the sound of an
audio source (compression). The adjustable parameters include Limiter In/Out, Threshold,
Ratio, Attack Time, and Release Time.
The 4.24D limiter threshold range is from -20dBu to +20dBu, or -24VU to +16VU.
This setting determines the signal level above which gain reduction begins, and is indicated
by the amber LED (S/L) in the output meter section. Increases in audio level above the
threshold will be reduced according to the ratio settings.
The ratio control determines the amount of gain reduction above limiter threshold.
Ratio ranges from a gentle 1.2:1 to a brick-wall INF:1. To illustrate how the ratio control
works, imagine a commonly used loudspeaker protection ratio of 10:1, which means that for
every input signal increase of 10 dB above threshold, the output level will only increase by
1dB. The higher the ratio, the more pronounced the audio effect, so use the lowest ratio
possible to sufficiently address the problem.
Attack and Release settings adjust the time it takes the limiter to engage and then disengage when the signal
increases above threshold and then subsequently falls back below threshold. Attack time is adjustable from 0.5ms
through 50ms, while release time ranges from 10ms through 1s. A very fast attack time can sound unnatural, while a
very long attack time can miss some of the initial transient. Similarly, a very short release time can make the audio
sound uneven, while a very long release time can create "pumping", or "breathing" characteristics depending on the
kind of signal. Experiment to find the best solution for a given application.
8. OTHER SOFTWARE FUNCTIONS
8.1 Channel Preset File Management
As discussed in section 7.2, there are 10 standard configurations which can be modified to create user defined
preset files. These modified presets can then be saved to either disk or the 4.24D itself. For disk files, the file
extension is <*.pdc>. For files saved to the 4.24D, they must number from 1 to 30 and the filename must be no more
than 20 characters. The 30 preset locations on the 4.24D are initially filled with the same 10 standard configurations,
repeating three times.
σ
Hi
g
h - No Dela
y
Midran
g
e Dela
y
12 Inches = 0.9mS
Low Dela
y
8 Inches = 0.6mS
Example: 12 Inches
Example: 8 Inches
Short Time Dela
y
For Driver Ali
g
nment