EasyManua.ls Logo

Aspes APV3303 - Conexión Eléctrica y Seguridad

Aspes APV3303
Print Icon
To Next Page IconTo Next Page
To Next Page IconTo Next Page
To Previous Page IconTo Previous Page
To Previous Page IconTo Previous Page
Loading...
ES - 12
Atornille los 4 soportes de montaje de
la encimera a las paredes laterales del
aparato.
Inserte el aparato en la apertura.
2.2. 
ADVERTENCIA: La conexión eléctrica
de este aparato debe realizarla una
persona de servicio autorizada o un
electricista cualificado conforme a las
instrucciones proporcionadas en esta guía
y las normativas locales vigentes.
ADVERTENCIA: ESTE APARATO
DEBE ESTAR CONECTADO A
TIERRA.
Antes de conectar el aparato al
suministro eléctrico, debe comprobarse
el voltaje nominal del aparato (indicado
en la placa identificativa del aparato)
para asegurarse de que se corresponda
con el de la red eléctrica. Además, los
cables eléctricos deben ser capaces de
soportar la potencia nominal del aparato
(que también se indica en la placa
identificativa).
Asegúrese de que se usen cables
aislados durante la instalación. Una
conexión incorrecta podría dañar el
aparato. Si el cable de alimentación
está dañado y debe cambiarse, dicha
operación deberá realizarla una
persona cualificada.
No utilice adaptadores, regletas ni
alargadores.
El cable de alimentación debe
mantenerse alejado de las partes
calientes del aparato y no debe
doblarse ni comprimirse. De lo contrario,
se podría dañar el cable, lo que daría
lugar a un cortocircuito.
Si el aparato no está conectado a la
red mediante un enchufe, se debe usar
un interruptor aislante multipolar (con
una separación de contacto mínima de
3 mm) para cumplir las normativas de
seguridad.
Una vez que se haya instalado el
aparato, debe ser fácil acceder al
interruptor con fusible.
Asegúrese de que todas las conexiones
estén apretadas debidamente.
Fije el cable de alimentación a la
abrazadera de cable y a continuación
cierre la tapa.
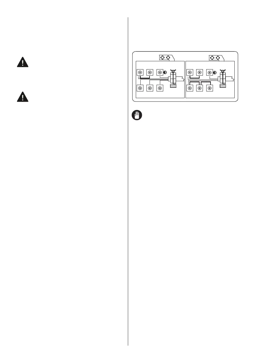
La conexión de la caja de terminales se
encuentra en la caja de terminales.
4
4
N
N PE
PE
L2
L3
L1
L
5 5
3
3
2
2
1
1
CARACTERÍSTICAS DEL PRODUCTO
Importante: Las especificaciones para
el producto varían y el aspecto del
aparato podría variar con respecto al
mostrado en las figuras que se muestran
debajo.

Related product manuals