EasyManua.ls Logo

ATI Technologies GasSens - Page 17

ATI Technologies GasSens
49 pages
Print Icon
To Next Page IconTo Next Page
To Next Page IconTo Next Page
To Previous Page IconTo Previous Page
To Previous Page IconTo Previous Page
Loading...
GasSens Gas Detection System Section 1 - Overview
O & M Manual
A14-RK, 8/06 1 - 16
Analytical Technology, Inc.
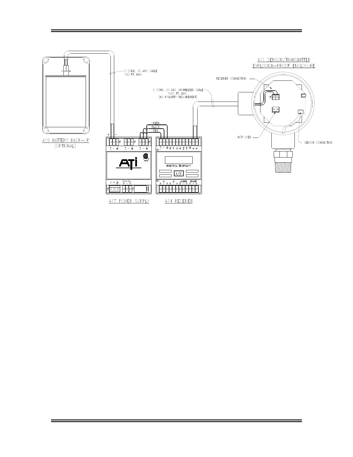
Figure 1-10: Typical System Wiring, Explosion-proof Transmitter Version (ATI-076)
The remainder of this manual is divided into sections that describe each component of the
system. Mechanical and electrical installation are the only requirements to provide a workable
system. Power supply modules and battery back-up units require no adjustments. Receiver
modules are factory set to the range specified on the order, and alarm setpoints will be set to
default values unless otherwise specified on the order. Sensor/transmitters are factory calibrated,
and should require no adjustments when placed in service. Calibration can be checked if desired
according to the instructions in the Sensor/transmitter section of this manual.
Normal operation of the system is done using the switch on the Receiver module. The
"Operation" portion of the Receiver section (section 2) should be read and understood before
placing the detection system into operation.