EasyManua.ls Logo

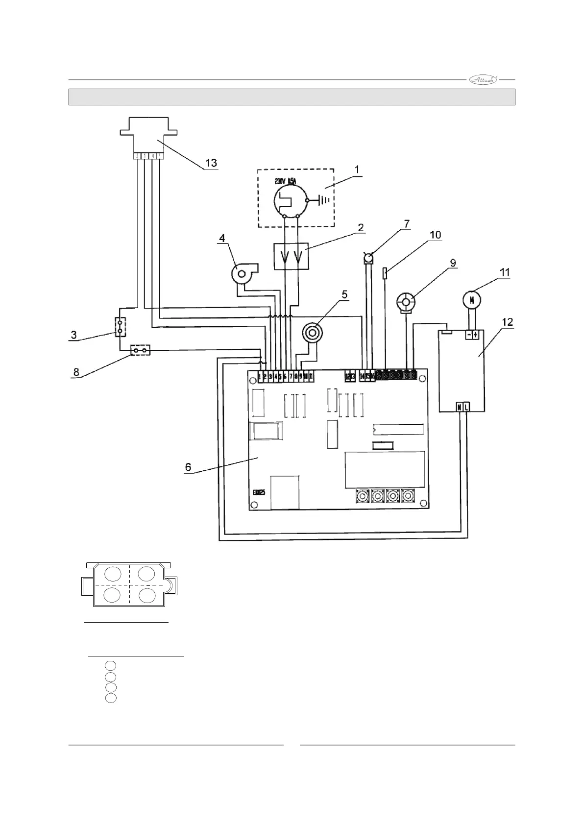
ATTACK PELLET Series - Electrical diagram for connection of the burner iwabo villa S2

ATTACK PELLET Series
74 pages
Print Icon
To Next Page IconTo Next Page
To Next Page IconTo Next Page
To Previous Page IconTo Previous Page
To Previous Page IconTo Previous Page
Loading...
1 - feeder motor with thermal protection safety switch
2 - socket for pellet feeder
3 - thermal fuse
4 - fan
5 - ignition coil
6 - control board with green point
7 - photocell
8 - burner limit switch
9 - fan rounds control
10 - temperature sensor
1 brown
3 black
4 white
2 yellow green
LEGEND- colour marking
1
2
3
4
PLUG CONNECTION
front view
13 - connector plug
12 - el. circuit for grate cleaning
11 - grate cleaning drive
Electrical diagram for connection of the burner iwabo villa S2
20

Related product manuals