EasyManua.ls Logo

AudioArts Engineering R-60 - Page 6

Default Icon
16 pages
Print Icon
To Next Page IconTo Next Page
To Next Page IconTo Next Page
To Previous Page IconTo Previous Page
To Previous Page IconTo Previous Page
Loading...
Page 3 - 9
R-60 / Nov 1994R-60 / Nov 1994
R-60 / Nov 1994R-60 / Nov 1994
R-60 / Nov 1994
CC
CC
C
ONSOLEONSOLE
ONSOLEONSOLE
ONSOLE
L L
L L
L
OGICOGIC
OGICOGIC
OGIC
& I/O C & I/O C
& I/O C & I/O C
& I/O C
ONNECTIONSONNECTIONS
ONNECTIONSONNECTIONS
ONNECTIONS
Page 3 - 8
1REMOTE ON
2
REMOTE
OFF
8
COUGH
9TALKBACK
12
DIGITAL COMMON
3
ON TALLY
11+5V DIGITAL
USED AS A
MICROPHONE
INPUT
1
REMOTE ON
2
REMOTE
OFF
12
DIGITAL COMMON
7
6
START
5
STOP
4
MACHINE COMMON
LOGIC PORT
(LOWER
CONNECTOR)
PIN NUMBERS
TO EXTERNAL MACHINE
"READY" CONNECTIONS
TO EXTERNAL MACHINE
REMOTE "START/STOP"
CONNECTIONS
USED AS A
LINE INPUT
1K
2.2K
2N3906
5V LAMP
ON
OFF
ON
OFF
COUGH
TB
OPTIONAL OFF
TALLY
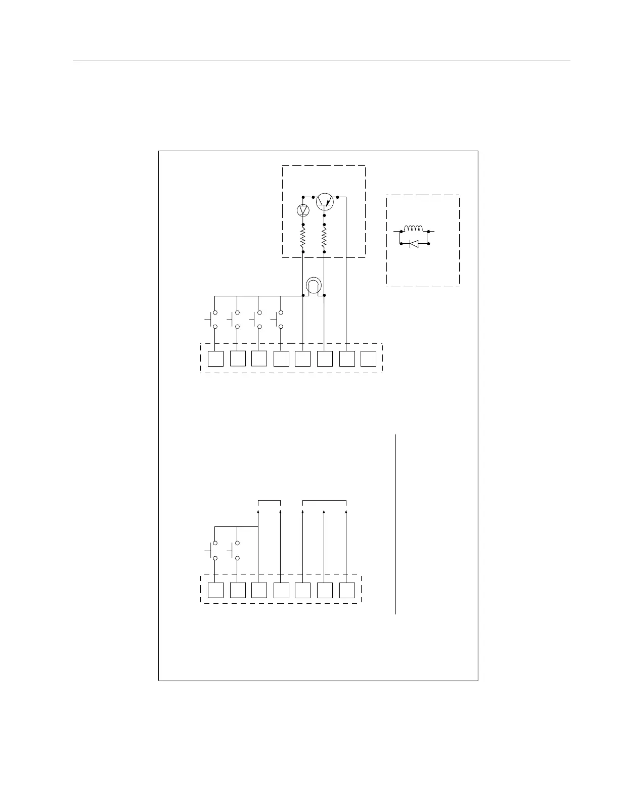
TYPICAL IN-60 REMOTE LOGIC
1) All switches are momentary contact.
2) Instead of (or in addition to) driving visual tally indicators, ON TALLY may be used to drive external logic.
3) If external logic will include additional lamps or relays, power these from a separate external supply.
Make sure external relays use transient suppression ("snubber") diodes (see diagram, right).
LOGIC PORT
(LOWER
CONNECTOR)
PIN NUMBERS
10
A / B LOGIC
FOLLOW
1N4002
or equiv.
+
Typical relay circuit
w/snubber diode installed

Related product manuals