EasyManua.ls Logo

Avalon A1LEDCLOCK - The Back Panel; The Right Side Panel

Avalon A1LEDCLOCK
6 pages
Print Icon
To Next Page IconTo Next Page
To Next Page IconTo Next Page
To Previous Page IconTo Previous Page
To Previous Page IconTo Previous Page
Loading...
2
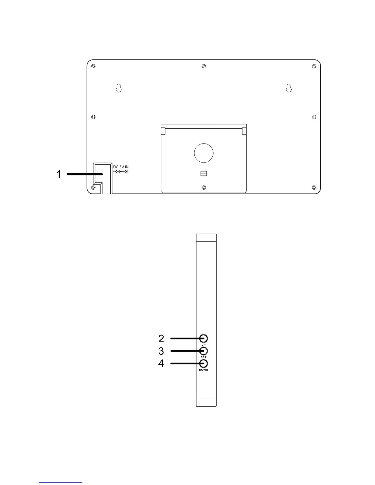
THE BACK PANEL
THE RIGHT SIDE PANEL
1 DC 5V IN 2 UP 3 SET 4 DOWN