EasyManua.ls Logo

AVer VB342 Pro - BT Dongle Installation

AVer VB342 Pro
72 pages
Print Icon
To Next Page IconTo Next Page
To Next Page IconTo Next Page
To Previous Page IconTo Previous Page
To Previous Page IconTo Previous Page
Loading...
简体中文-20
产品介绍
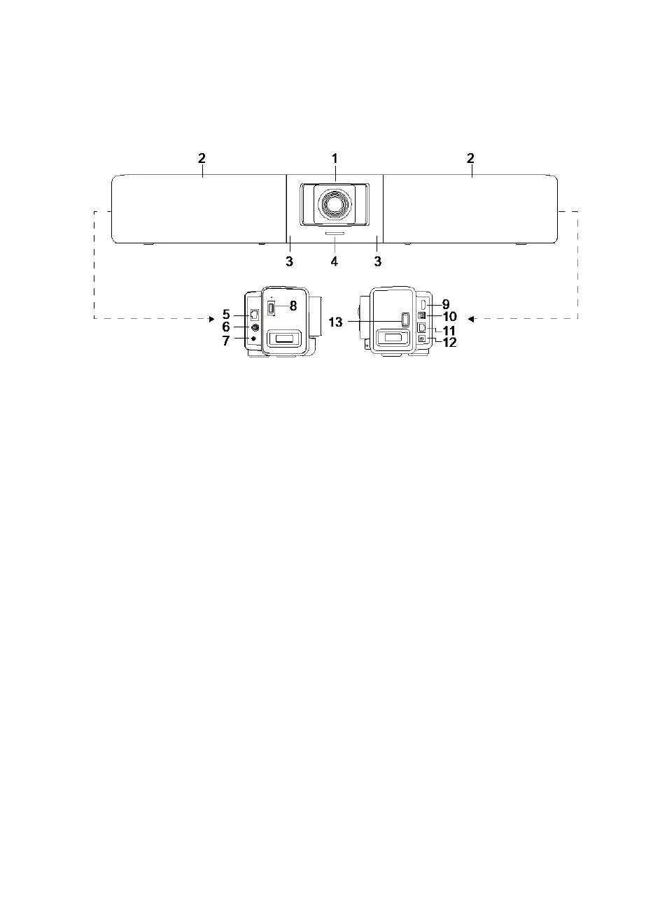
(1)
(2)
(3)
(4)
(5)
(6)
镜头
麦克风数组区域
(内建 10 组麦克风)
IR 传感器
LED 指示灯
扩充音讯
(供扬声器/麦克风使用)
RS232
(7)
(8)
(9)
(10)
(11)
(12)
(13)
麦克风输入/音讯输出*
USB 2.0 Type A **
(仅供蓝牙模块使用)
HDMI 输出端口 (接电视) ***
USB 3.0 Type B 端口 (接计算)
RJ-45 以太网络端口
DC 12V 电源插孔
USB 2.0 ****
* 出厂默认值为麦克风输入。欲使用音频输出功能连接 HA 系统,请透过 PTZApp 2 行设定,并向圆
展购买音讯输出转换器 (TRS 母头转 TRRS 公头)
** 蓝牙模块在某些国家为选购项目。请连络您当地的经销商购买。
*** 支持 DisplayLink 技术。
**** 若您使用 MAC 最新 Monterey OS 版本时想使用此 USB 2.0 请勿使用 USB 延长线否则 MAC
PC 将无法侦测到 VB342 Pro,且可能造成系统不稳定的问题。

Other manuals for AVer VB342 Pro

Related product manuals