EasyManua.ls Logo

Axminster PS315 - Page 48

Axminster PS315
56 pages
Print Icon
To Next Page IconTo Next Page
To Next Page IconTo Next Page
To Previous Page IconTo Previous Page
To Previous Page IconTo Previous Page
Loading...
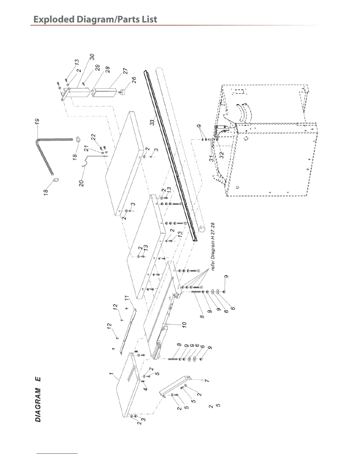
Exploded Diagram/Parts List
48
Diagram/List E

Related product manuals