EasyManua.ls Logo

Babyletto gelato - Page 22

Babyletto gelato
44 pages
Print Icon
To Next Page IconTo Next Page
To Next Page IconTo Next Page
To Previous Page IconTo Previous Page
To Previous Page IconTo Previous Page
Loading...
22
11d
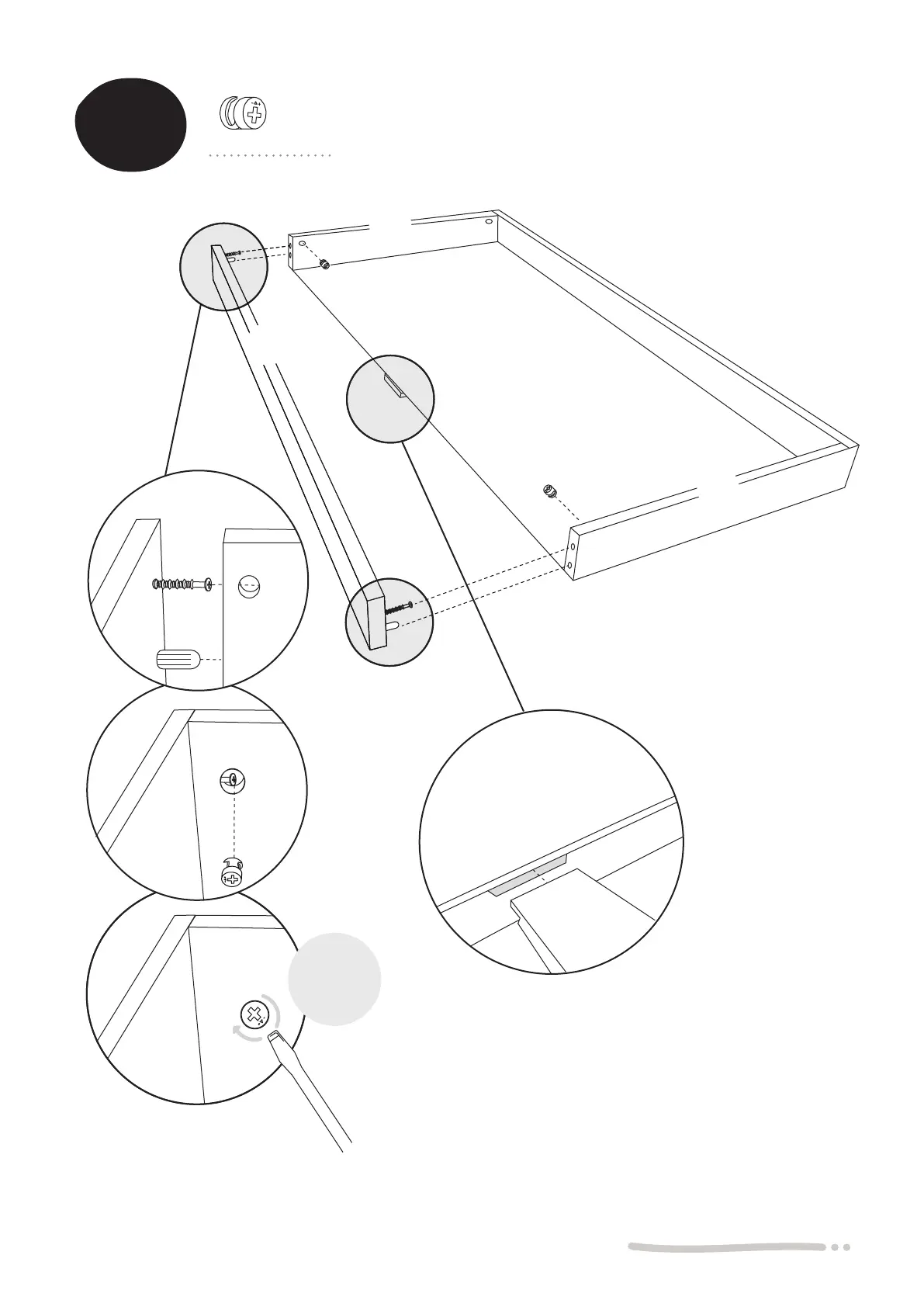
TH-2
x2
T-2
T-2
T-1
x2
T-3
T-1

Other manuals for Babyletto gelato

Related product manuals