EasyManua.ls Logo

Backyard Discovery 2106536D - Page 5

Backyard Discovery 2106536D
71 pages
Print Icon
To Next Page IconTo Next Page
To Next Page IconTo Next Page
To Previous Page IconTo Previous Page
To Previous Page IconTo Previous Page
Loading...
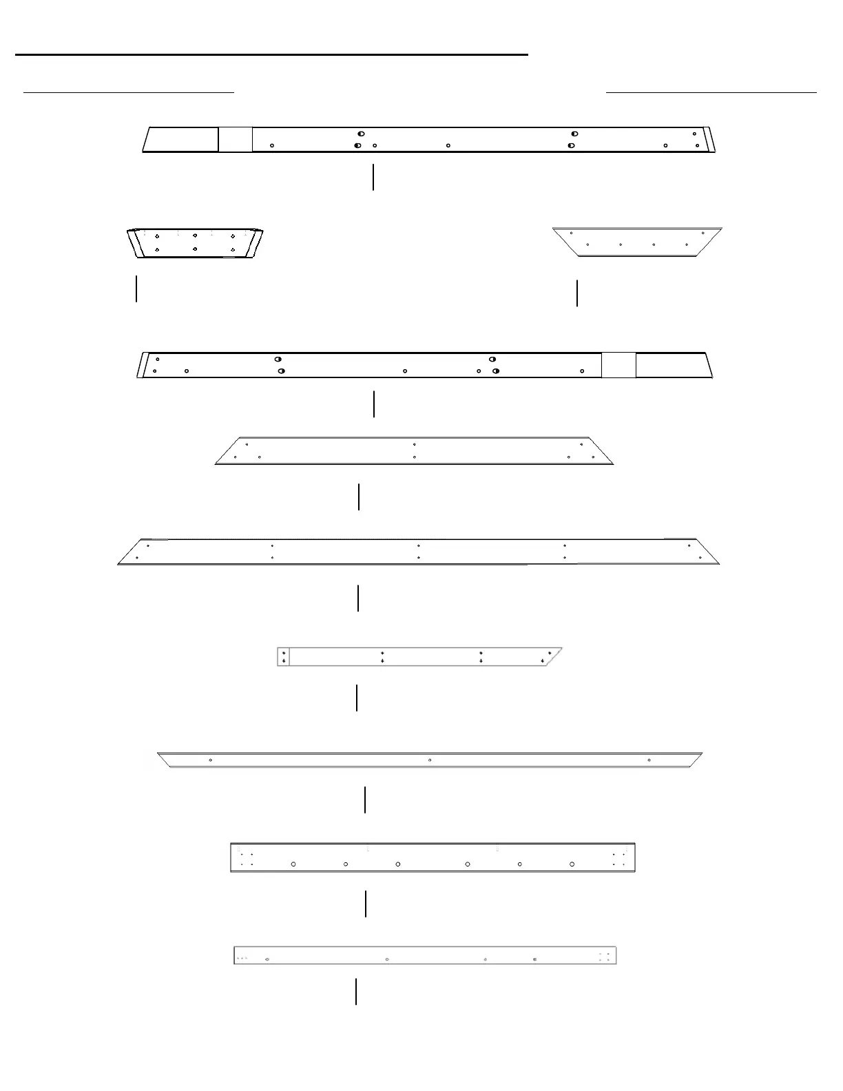
Wood Components (Not to Scale)
OWNER'S MANUAL - PARTS IDENTIFICATION
PURLIN - W4L16303
1"x3 3/8"x20 1/4" (24x86x514)
H13
(2)
PURLIN - W4L16304
1"x3 3/8"x50 1/16" (24x86x1272)
H14
(2)
ROOF JOIST- W4L16297
1"x3 3/8"x15 15/16" (24x86x404)
H11
(2)
PURLIN - W4L16305
1"x3 3/8"x79 15/16" (24x86x2030)
H15
(2)
PURLIN - W4L16922
1"x3 3/8"x56" (24x86x1423)
H16
(4)
PURLIN - W4L16289
1"x1 3/8"x51 3/8" (24x34x1306)
H17
(2)
ROOF SUPPORT- W4L16315
1"x3 3/8"x48" (24x86x1219)
H18
(1)
(2)
ROOF JOIST-W4L16308
1"
X3 3/8"X76
7/8
(24x86x195
2)
H12
ROOF JOIST-W4L16309
1"
x3 3/8"x76 7/8" (24x86x1952)
H10
(2)
ROOF SUPPORT-W4L16928
1"x3 3/8"x75 3/16" (24x86x1909)
H19
(
4
)
5

Related product manuals