EasyManua.ls Logo

Backyard Discovery HILLCREST - Page 8

Backyard Discovery HILLCREST
84 pages
Print Icon
To Next Page IconTo Next Page
To Next Page IconTo Next Page
To Previous Page IconTo Previous Page
To Previous Page IconTo Previous Page
Loading...
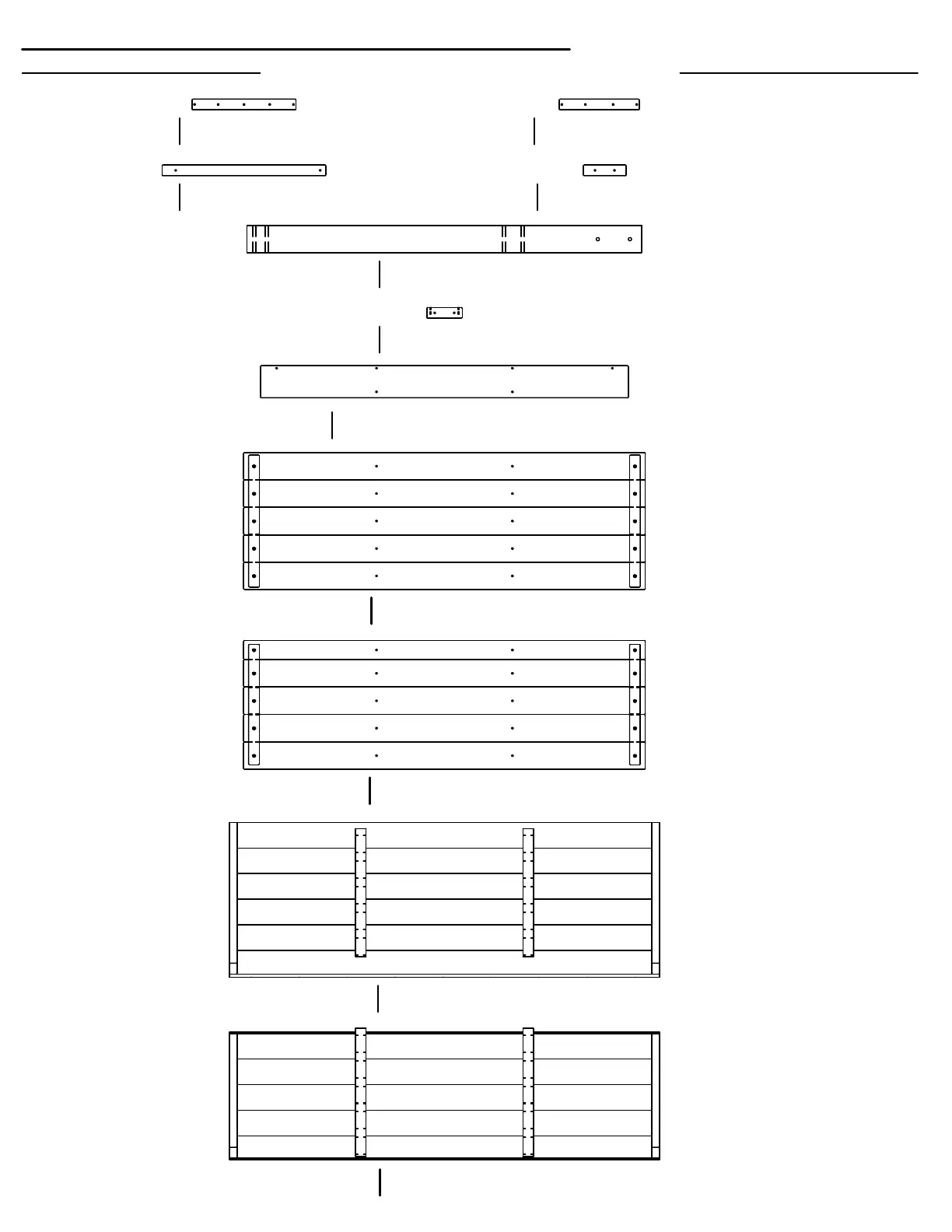
Wood Components (Not to Scale)
Owner's Manual - Parts Identification
OUTSIDE FILLER FLOOR BOARD - W4L16087
5/8"x4"x46" (16x102x1168)
Y01
(x1)
SEAT SUPPORT - W4L16086
1"x1 3/8"x4 3/8" (24x34x112)
T01
(x4)
SAFETY RAIL - W4L16083
5/8"x1 3/8"x20 1/2" (16x34x520)
O03
(x1)
WINDOW SHUTTER SLAT - W4L16084
5/8"x1 3/8"x5 3/8" (16x34x136)
O04
(x6)
WALL SUPPORT - W4L16081
5/8"x1 3/8"x13" (16x34x330)
O01
(x6)
WALL SUPPORT - W4L16082
5/8"x1 3/8"x10" (16x34x254)
O02
(x1)
SWING BEAM SUPPORT - W4L16085
3 3/8"x3 3/8"x49 3/8" (86x86x1254)
SP50
(x1)
FP1
(x1)
FLOOR PANEL - W2A03281
1 5/8"x17 1/8"x50 1/4" (40x434x1276)
FP2
(x1)
FLOOR PANEL - W2A03282
1 5/8"x16 1/8"x50 1/4" (40x408x1276)
RP1
(x2)
ROOF PANEL - W2A03279
1 3/4"x19 1/4"x53 3/4" (45x490x1366)
RP2
(x2)
ROOF PANEL - W2A03280
1 3/4"x16 1/4"x53 3/4" (45x417x1366)
8

Related product manuals