EasyManua.ls Logo

Backyard Discovery MALIBU - Parts Identification; Wood Components

Backyard Discovery MALIBU
161 pages
Print Icon
To Next Page IconTo Next Page
To Next Page IconTo Next Page
To Previous Page IconTo Previous Page
To Previous Page IconTo Previous Page
Loading...
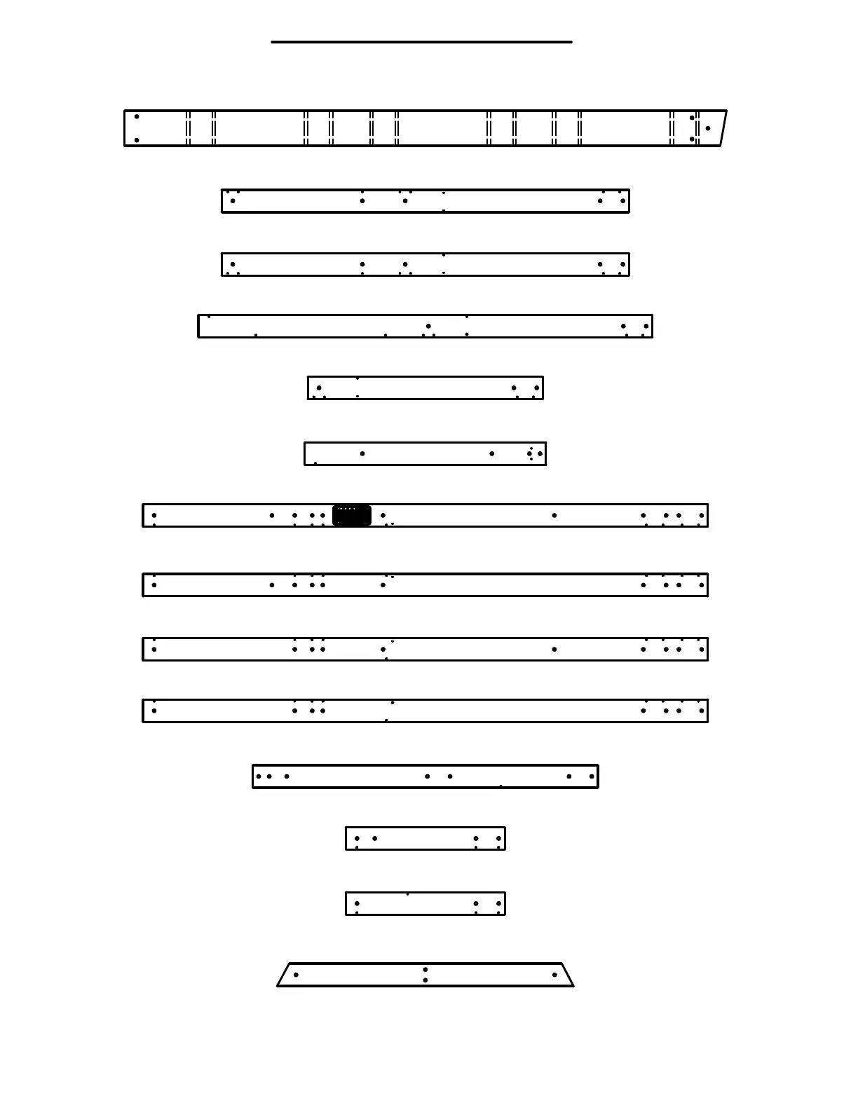
Parts Identification
Wood Components
(NOT TO SCALE)
A50 - SWING BEAM - W4L06616
3 3/8"x5 1/4"x89 1/2" (86x134x2274)

E1 - LEFT FRONT UPRIGHT - W4L06385
1 3/8"x3 3/8"x60 5/8" (36x86x1540)

E2 - RIGHT FRONT UPRIGHT - W4L06386
1 3/8"x3 3/8"x60 5/8" (36x86x1540)

E3 - RIGHT REAR UPRIGHT - W4L06387
1 3/8"x3 3/8"x67 1/2" (36x86x1715)

E4 - LEFT REAR UPRIGHT - W4L06388
1 3/8"x3 3/8"x35" (36x86x889)

E5 - RAIL UPRIGHT - W4L06398
1 3/8"x3 3/8"x35 7/8" (36x86x912)


E6 - FRONT RIGHT UPRIGHT - W2A01933
1 3/8"x3 3/8"x84" (36x86x2135)
E7 - FRONT LEFT UPRIGHT - W4L06425
1 3/8"x3 3/8"x84" (36x86x2135)

E8 - REAR RIGHT UPRIGHT - W4L06426
1 3/8"x3 3/8"x84" (36x86x2135)

E9 - FRONT RIGHT UPRIGHT - W4L06427
1 3/8"x3 3/8"x84" (36x86x2135)

E10 - FORT UPRIGHT - W4L06455
1 3/8"x3 3/8"x51 3/8" (36x86x1305)

E11 - RIGHT FORT UPRIGHT - W4L06475
1 3/8"x3 3/8"x23 3/4" (36x86x602)

E12 - LEFT FORT UPRIGHT - W4L06476
1 3/8"x3 3/8"x23 3/4" (36x86x602)

E50 - END SUPPORT - W4L06615
1 3/8"x3 3/8"x44 1/8" (36x86x1120)

14

Related product manuals