EasyManua.ls Logo

Backyard Discovery MALIBU - Page 17

Backyard Discovery MALIBU
161 pages
Print Icon
To Next Page IconTo Next Page
To Next Page IconTo Next Page
To Previous Page IconTo Previous Page
To Previous Page IconTo Previous Page
Loading...
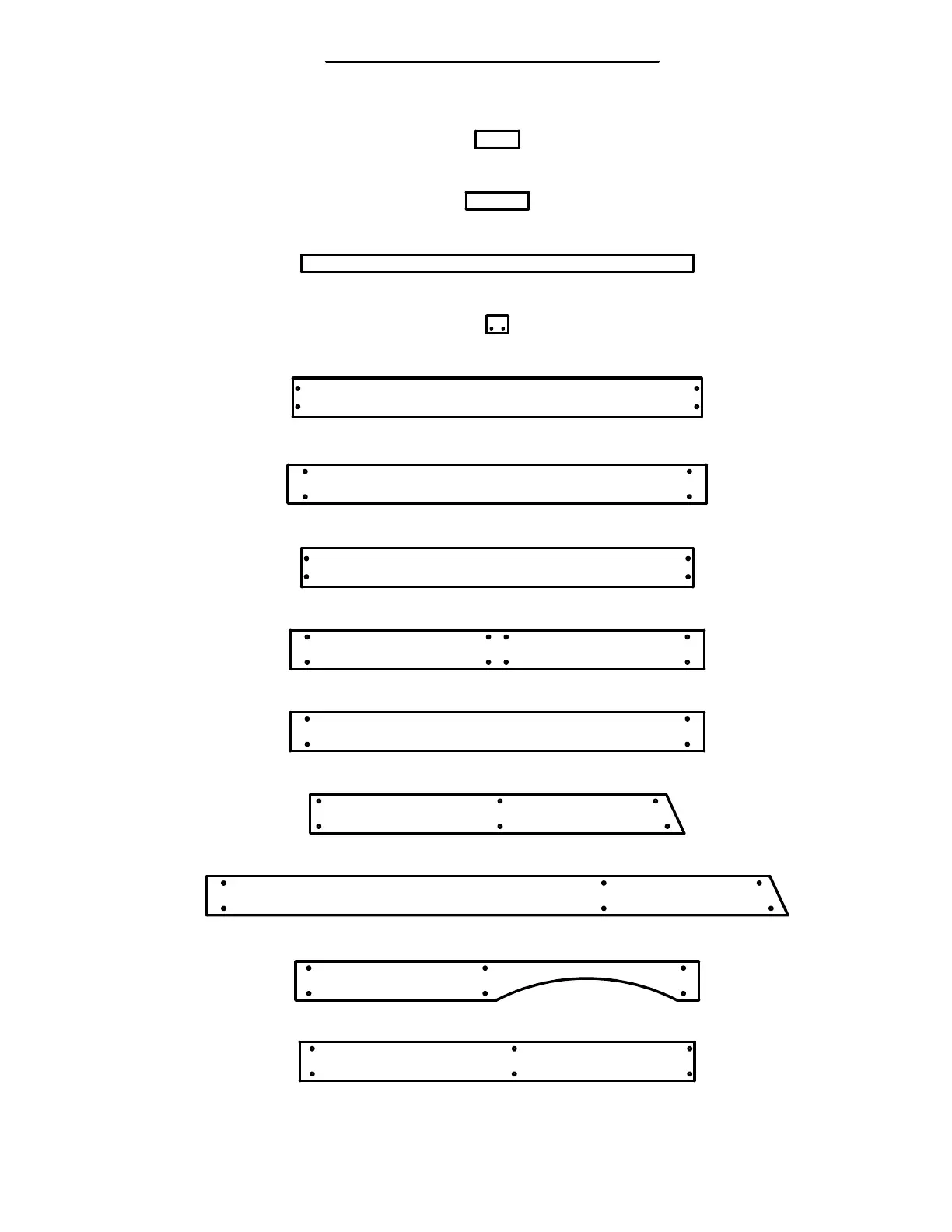
Parts Identification
Wood Components
(NOT TO SCALE)
J2 - COUNTER TOP SUPPORT - W4L06411
1"x2 3/8"x5 7/8" (24x60x150)

J3 - SEAT SUPPORT - W4L06417
1"x2 3/8"x8 3/8" (24x60x214)

J4 - FLOOR SUPPORT - W4L06454
1"x2 3/8"x52 1/2" (24x60x1335)

J9 - SUPPORT BOARD - W4L06064
1"x2 3/8"x3" (24x60x76)

K1 - GROUND BOARD - W4L06389
5/8"x5 1/4"x54 7/8" (16x134x1394)

K2 - GROUND BOARD - W4L06390
5/8"x5 1/4"x56 1/8" (16x134x1426)

K3 - GROUND BOARD - W4L06428
5/8"x5 1/4"x52 1/2" (16x134x1335)

K4 - GROUND BOARD - W4L06429
5/8"x5 1/4"x55 5/8" (16x134x1412)

K5 - GROUND BOARD - W4L06430
5/8"x5 1/4"x55 5/8" (16x134x1412)

K6 - GROUND BOARD - W4L06431
5/8"x5 1/4"x50 1/4" (16x134x1275)

K7 - GROUND BOARD - W4L06432
5/8"x5 1/4"x78" (16x134x1981)

K8 - ARCHED WALL RAIL - W4L06460
5/8"x5 1/4"x54 1/8" (16x134x1375)

K10 - WALL RAIL - W4L06462
5/8"x5 1/4"x53" (16x134x1346)

17

Related product manuals