EasyManua.ls Logo

Backyard Discovery Tanglewood - Page 67

Backyard Discovery Tanglewood
99 pages
Print Icon
To Next Page IconTo Next Page
To Next Page IconTo Next Page
To Previous Page IconTo Previous Page
To Previous Page IconTo Previous Page
Loading...
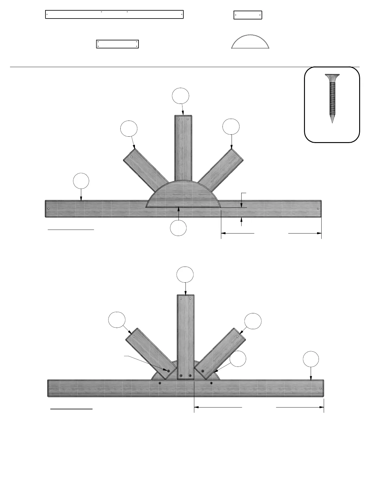
67(3
<28:,//0$.(7+5((681%8567
$66(0%/,(6,17+,667(3
6&5(:3)+
[

FRONT VIEW
BACK VIEW
SCREW PFH 8x1 1/8
3/&6
1
.
1
1
1
1
1
1
1

.


1+25,=217$/681%8567%2$5':
[[[[

19(57,&$/681%8567632.(:
[[[[

1681%8567632.(:
[[[[

.681%8567+$/)0221:
[[[[

67

Related product manuals