EasyManua.ls Logo

Baoli CPCD 100 - Page 63

Default Icon
112 pages
Print Icon
To Next Page IconTo Next Page
To Next Page IconTo Next Page
To Previous Page IconTo Previous Page
To Previous Page IconTo Previous Page
Loading...
57
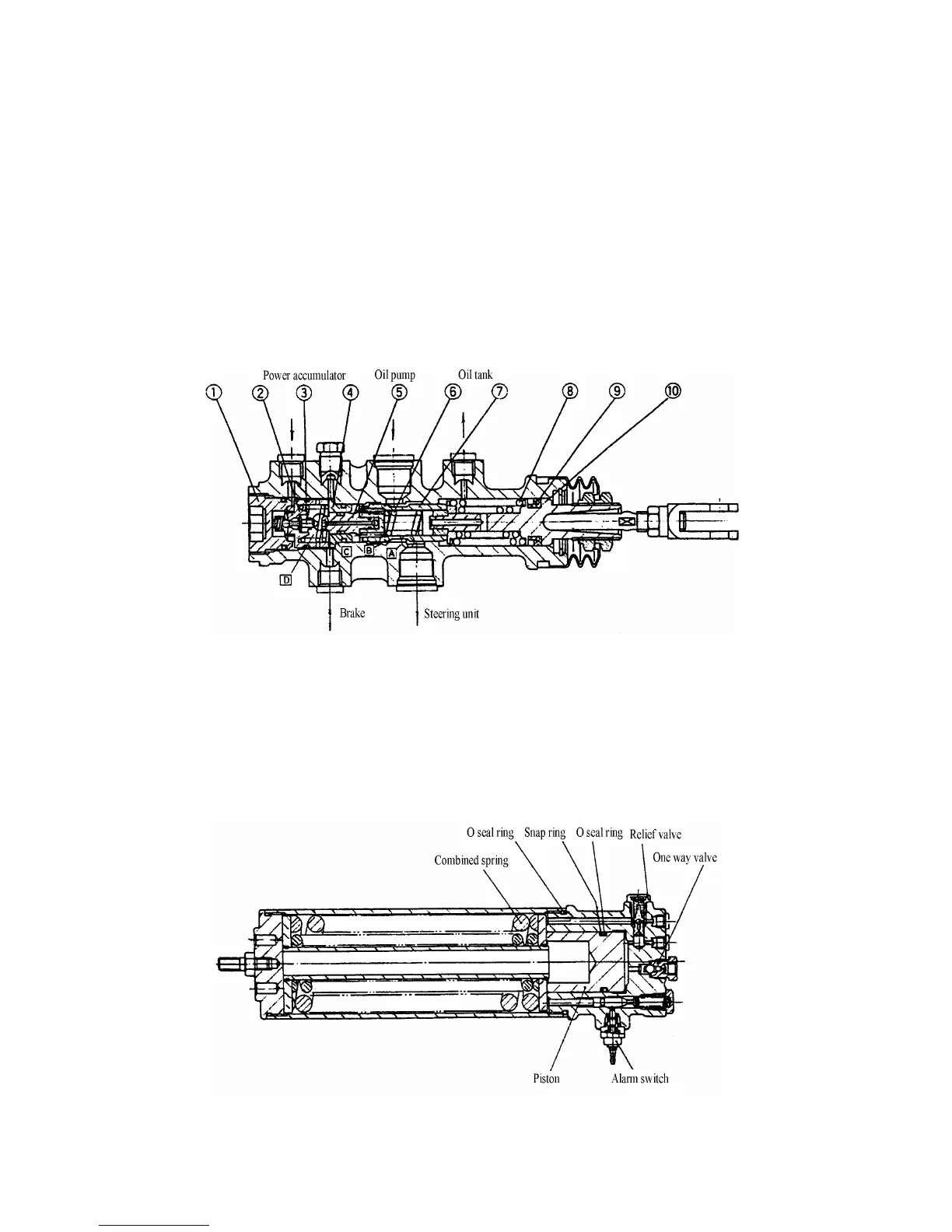
opens and oil flows to the energy reservoir. Now the piston shifts to the left, the warning
switch doesn’t ring.
The reservoir storages the maximum energy along with the oil pressure rises
constantly, the oil pressure is 13 MPa, this value is controlled by the safety valve.
The energy reservoir storages the pressure energy, there are safety valve and
pressure alarm switch inside it. Preventive maintenance should be done by authorized
serviceman. Failure to use will cause crack. Depressurization treatment should be done
when the truck parking or preventive maintenance.
The method to decrease the pressure: After the engine is flameout, press the brake
pedal for 5 to 8 times, then the pressure of reservoir in brake system can be decreased.
Fig. 4.3 Brake valve
1
Plug
5
Recoil piston
9
Oil seal
2
One-way valve base
6
Return spring
10
Piston assy
3
One-way valve pin
7
Valve sleeve
4
Piston guide base
8
Spring group
Fig. 4.4 Energy reservoir

Table of Contents

Related product manuals