EasyManua.ls Logo

Barbecook Optima Inox - Page 8

Barbecook Optima Inox
60 pages
Print Icon
To Next Page IconTo Next Page
To Next Page IconTo Next Page
To Previous Page IconTo Previous Page
To Previous Page IconTo Previous Page
Loading...
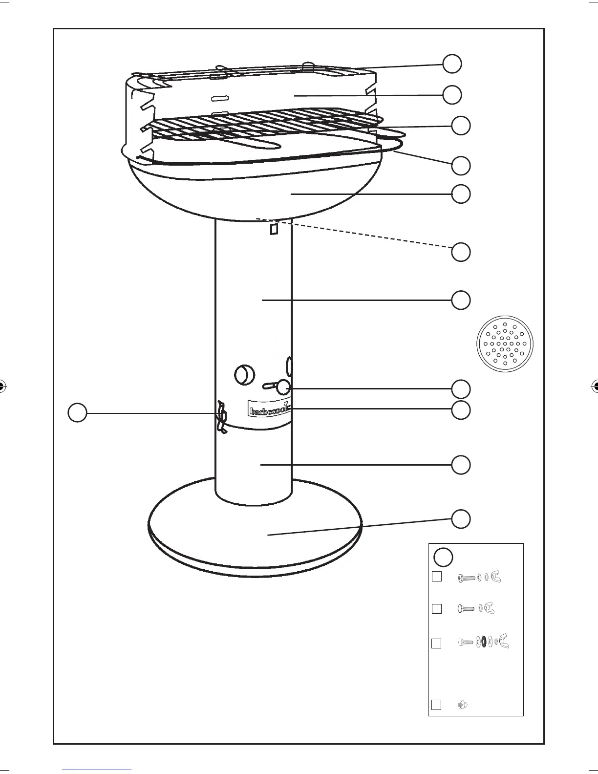
8
10
0
1
2
3
4
5
6
7
12
11
8
9
2x
1x
1x
2x
A
B
C
E
ARENA
BLACK
223.5502.000
0 227.1420.055
1 227.1220.055
2 227.1400.055
3 227.1601.055
4 227.1850.055
5 227.2020.018
6 227.2250.045
7 227.2200.100
8 227.2220.016
9 227.2420.050
10 227.4803 .055
11 227.2200.400
12 227.2200.200
MAN_QUICKSTART_INOX_BBC130819_A.indd 8 19/08/13 15:59

Related product manuals