EasyManua.ls Logo

Bard WE252 - Figure 4 Electric Heat Clearance

Default Icon
23 pages
Print Icon
To Next Page IconTo Next Page
To Next Page IconTo Next Page
To Previous Page IconTo Previous Page
To Previous Page IconTo Previous Page
Loading...
Manual 2100-385B
Page 9
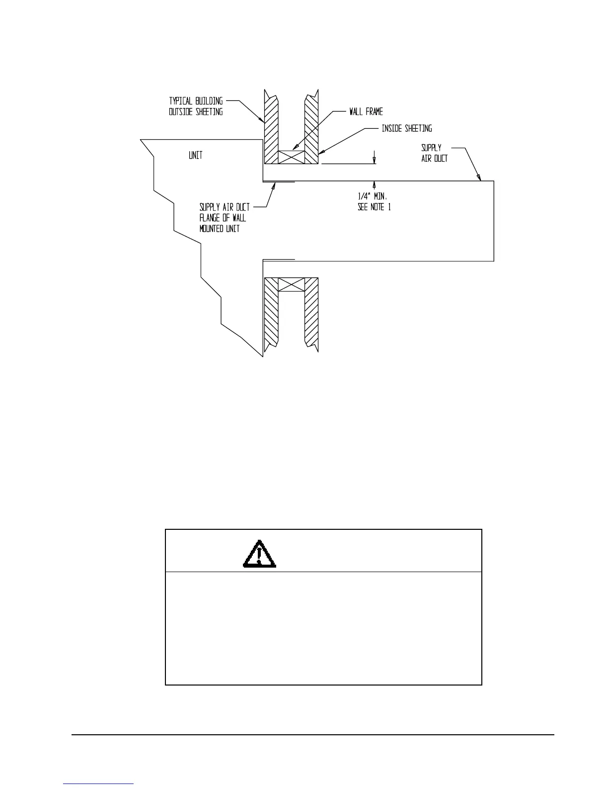
FIGURE 4
ELECTRIC HEAT CLEARANCE
MIS-277
SIDE SECTION VIEW OF SUPPLY AIR
DUCT FOR WALL MOUNTED UNIT
SHOWING 1/4 INCH CLEARANCE TO
COMBUSTIBLE SURFACES.
WARNING
A
minimum
of 1/4 inch clearance must be maintained between
the supply air duct and combustible materials. This is required for
the first 3 feet of ducting.
It is important to insure that the 1/4 inch minimum spacing is
maintained at all points.
Failure to do this could result in overheating the combustible
material and may result in a fire causing damage, injury or death.
NOTE
:
A 1/4 inch clearance to combustible material for the first 3 feet
of duct attached to the outlet air frame is required. However, it
is highly recommended that a 1-inch clearance is used for ease
of installation and maintaining the required clearance to
combustible material
This requirement does not apply to Model WE252 as it is
approved for 0 inch clearance of duct work.

Related product manuals