EasyManua.ls Logo

Barnstead FB1310M - Exploded View

Barnstead FB1310M
32 pages
Print Icon
To Next Page IconTo Next Page
To Next Page IconTo Next Page
To Previous Page IconTo Previous Page
To Previous Page IconTo Previous Page
Loading...
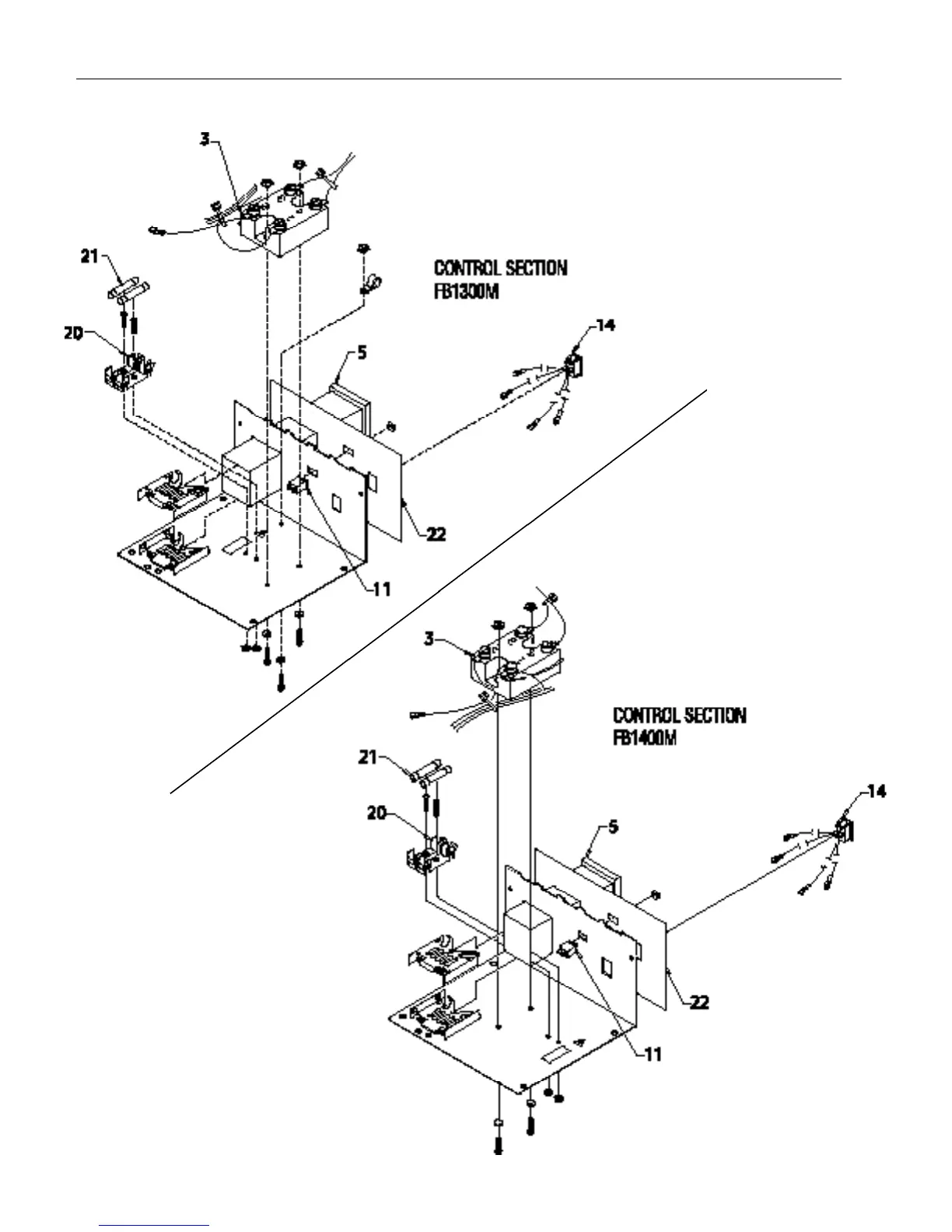
EXPLODED VIEW
28

Related product manuals