EasyManua.ls Logo

Barton 99908 - PRODUCT INFORMATION; HOW PRESSURE COOKER WORKS; TECHNICAL PARAMETERS

Default Icon
8 pages
Print Icon
To Next Page IconTo Next Page
To Next Page IconTo Next Page
To Previous Page IconTo Previous Page
To Previous Page IconTo Previous Page
Loading...
SAFETY WARNINGS PRODUCT INFORMATION
SAVE THESE WARNINGS.
1 2
HOW PRESSURE COOKER WORKS
TECHNICAL PARAMETERS
In the process of heang, the cooker is sealed by a silicon sealing ring, pressure in the cooker is increasing gradually, and
boiling point of water is increasing accordingly. When pressure in the cooker exceeds the specied limit, the pressure
regulator is pushing up, allowing steam to escape from the vent pipe keeping temperature and pressure inside the cooker
at a certain level. If the escaping hole is blocked by food, one of the two safety valves will exhaust steam automacally for
safety assurance. To ensure safe operaon once lid is properly closed it will lock in this posion when pressure reaches a
certain point.
Working pressure: 80 Kpa ±8kpa
Safety pressure: 110 ~160 Kpa
Pressure inside the cooker under condion that the lid has not closed to full posion: < 4 Kpa
Pressure in the cover when the oang valve locked: >4 Kpa
Compable heang sources:
*On gas burner (or stove), the ame should not go beyond the base of the cooker pot, it can be added
burner ring to control re.
*On inducon cooker, use a hotplate of a diameter equal to the diameter of the base of the pressure
cooker. Take care that the boom of the cooker is perfectly clean.
CAUTION: Prevent erce re burning the handle when using.
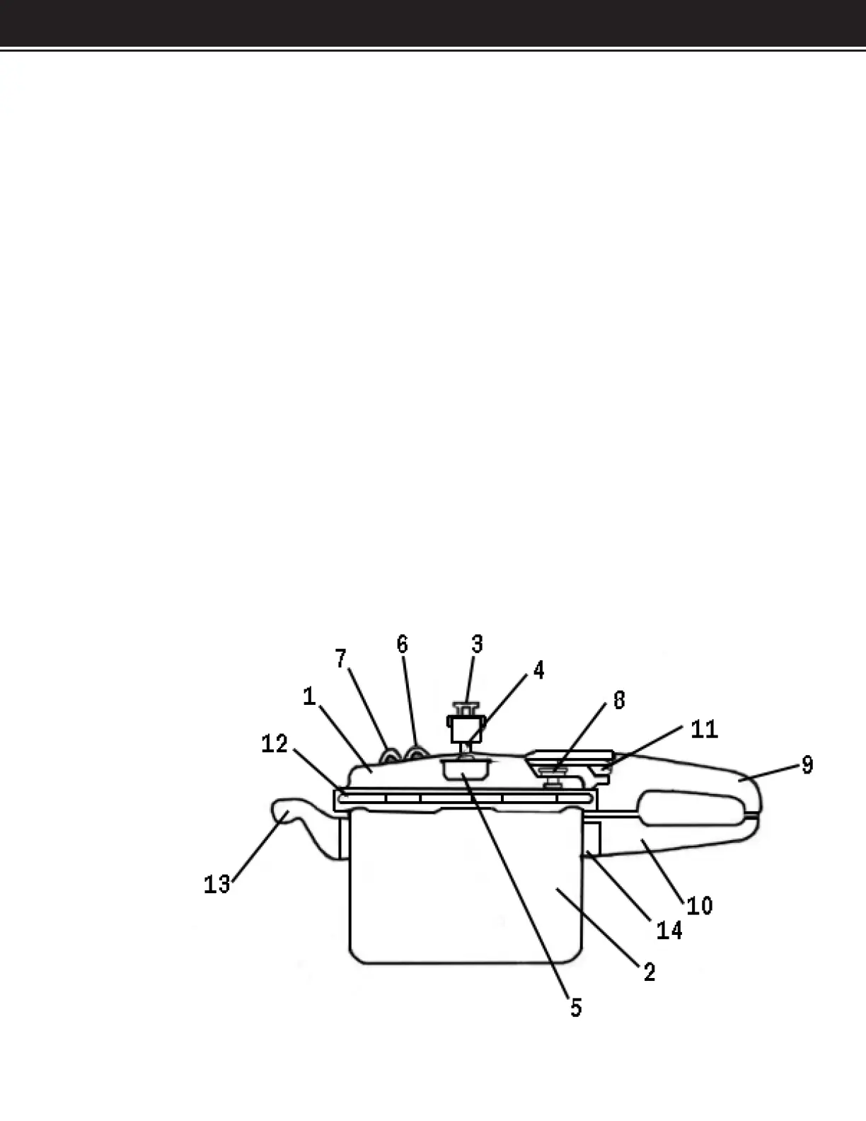
1. Lid
2. Body
3. Pressure regulator
4. Vent pipe
5. Block-proof cover
6. Safety valve 1#
7. Safety valve 2#
8. Floang valve
9. Lid handle
10. body handle
11. Push rod
12. Sealing ring
13. Auxiliary handle
14. Handle seat

Related product manuals