EasyManua.ls Logo

Baumatic BAH9008G - Fitting the Chimney; Assembling the Chimney Casings

Baumatic BAH9008G
24 pages
Print Icon
To Next Page IconTo Next Page
To Next Page IconTo Next Page
To Previous Page IconTo Previous Page
To Previous Page IconTo Previous Page
Loading...
16
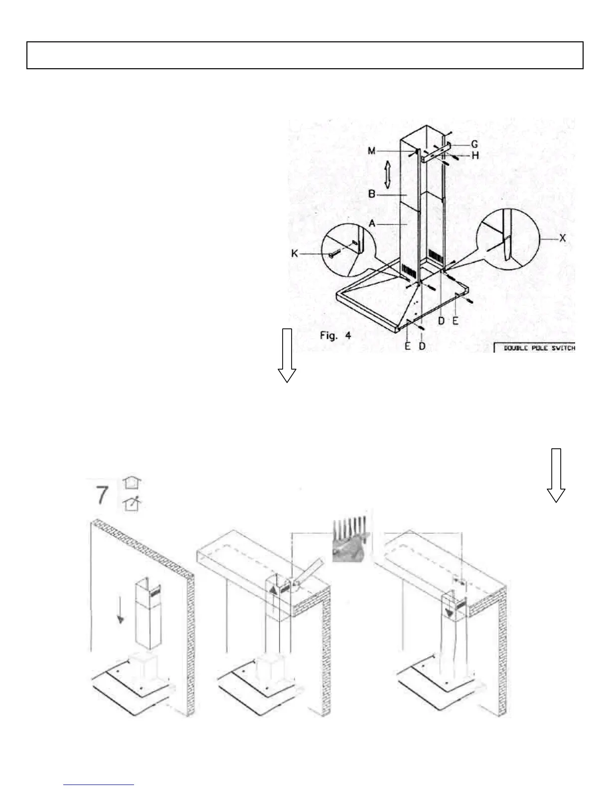
FITTING THE PIPE Once your Cooker Hood has
been installed, you can now fit the pipe.
1) Take the two casings „A‟ and „B‟:
2) Rest the bottom of the casing „A
on the top of the hood, taking
care to position the tabs of the
casing correctly on the back of
the hood as shown as part „X‟ in
Figure 4 at right.
3) Fix casing „A‟ onto the hood
using the two screws „K‟
supplied in the bag of
accessories (Figure 4 at right).
4) Lift the mobile part „B‟ until it reaches the ceiling, checking
that it is perpendicular to the hood.
5) Mark the side measurement of the mobile casing „B‟ and then
lower it (see below).
INSTALLATION INSTRUCTIONS Attaching the Hood
INSTALLATION INSTRUCTIONS Fitting the Chimney

Related product manuals