EasyManua.ls Logo

Baumuller BM4145 - Page 75

Baumuller BM4145
144 pages
Print Icon
To Next Page IconTo Next Page
To Next Page IconTo Next Page
To Previous Page IconTo Previous Page
To Previous Page IconTo Previous Page
Loading...
Installation
Operation manual b maXX BM4100 (NWR)
Document no.: 5.04052.09
75
of 142
7
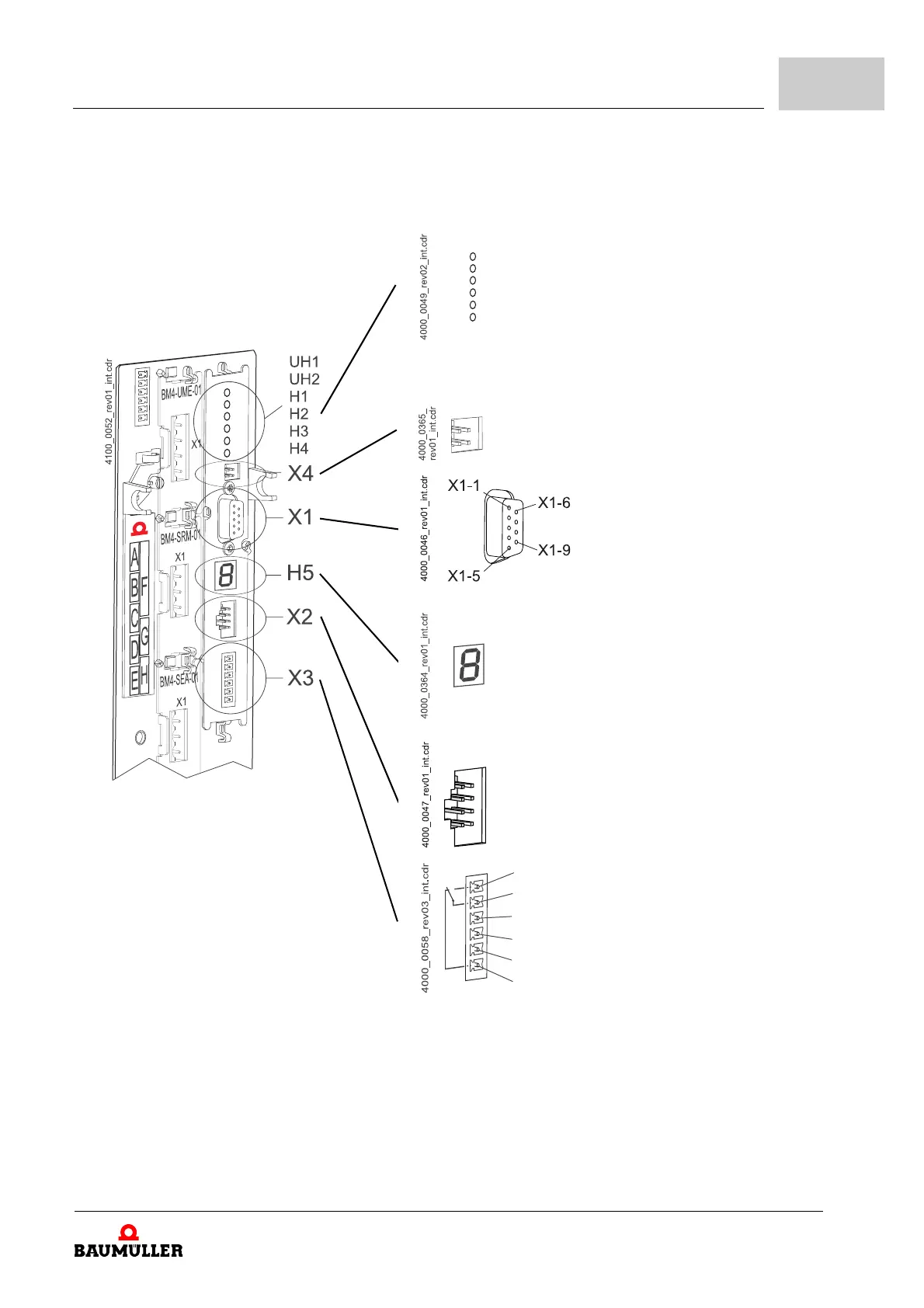
Figure 33: Connections of the controller part
UH1:green: Programmable LED
yellow: Programmable LED
UH2:green: Programmable LED
yellow: Programmable LED
H1: green: Supply
yellow: Feedback
H2: green: Enable
yellow: Power ON
H3: red: Current limit reached
H4: red: Error
X4: reserved
6: DTR, DSR
7: RTS
8: CTS
9: reserved
1: reserved
2: TxD RS232
3: RxD RS232
4: DTR, DSR
5:
Ground RS232
H5 display:
7 segment display
Standard operation Display drive status
Error condition: Display error number
X2:
Connection for
Baumüller memory module PSI ***
X3-1: BB on (no contact) (SELV/PELV)*
X3-2: BB-On (middle reversing switch)
(SELV/PELV)
*
X3-3: Reference potential for 4 and 5
(SELV/PELV)*
X3-4: Error reset (SELV/PELV)*
X3-5: Pulse enable (SELV/PELV)*
X3-6: BB-ON (NC contact) (SELV/PELV)*

Table of Contents

Related product manuals