EasyManua.ls Logo

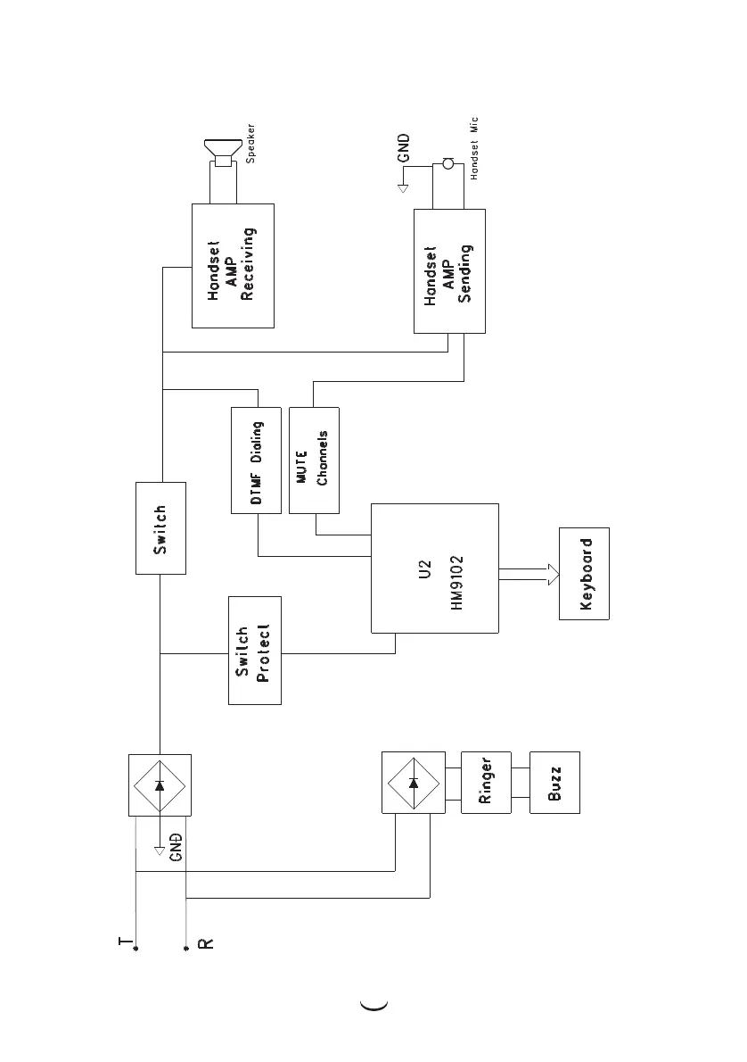
BBK BKT-39P/T RU - Block Diagram

BBK BKT-39P/T RU
18 pages
Print Icon
To Next Page IconTo Next Page
To Next Page IconTo Next Page
To Previous Page IconTo Previous Page
To Previous Page IconTo Previous Page
Loading...
5
Block Diagram