EasyManua.ls Logo

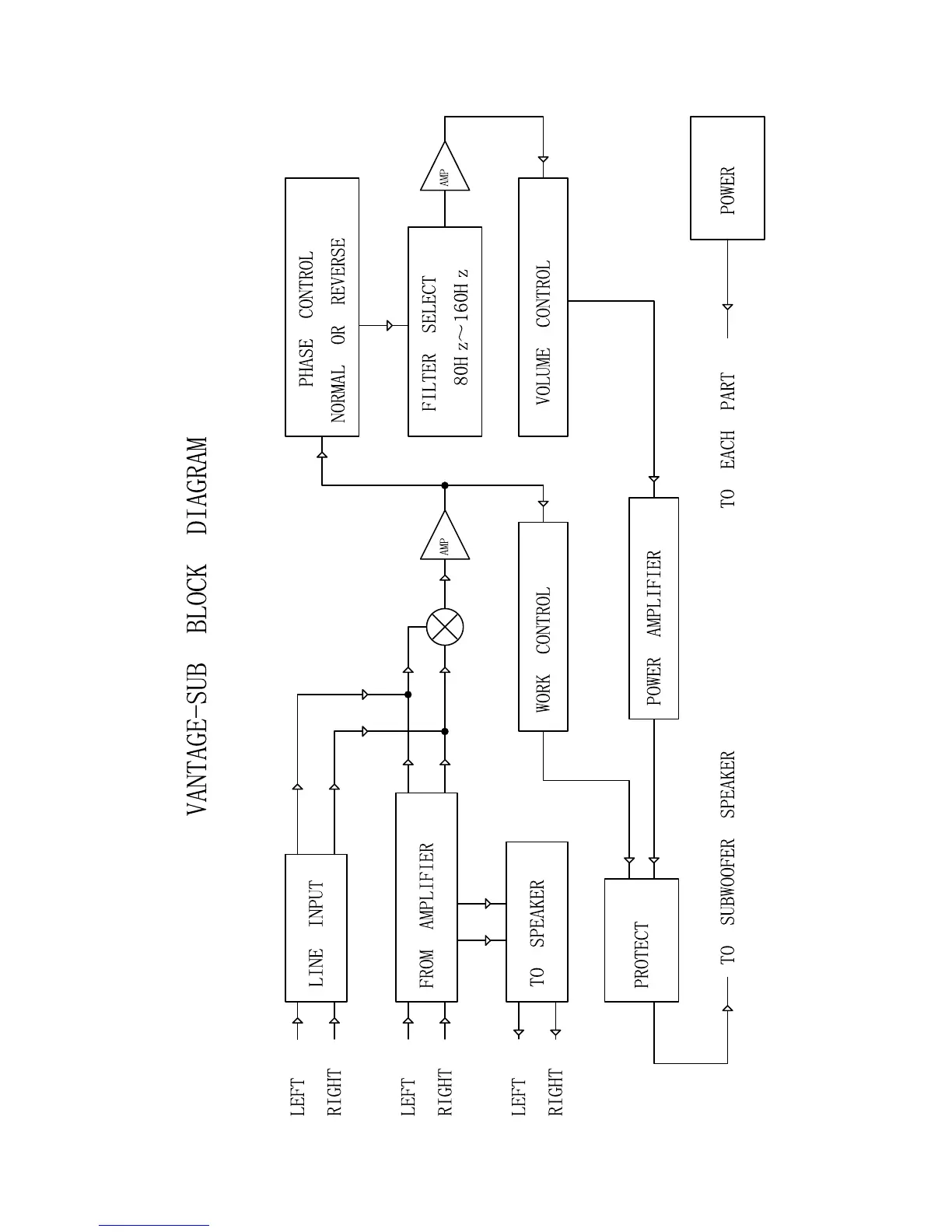
BBK VANTAGE SUB - Principle Chart

BBK VANTAGE SUB
15 pages
Print Icon
To Next Page IconTo Next Page
To Next Page IconTo Next Page
To Previous Page IconTo Previous Page
To Previous Page IconTo Previous Page
Loading...
FLOW CHART
Page 9