EasyManua.ls Logo

Be-Tech 3001D Series - Safe Positioning

Be-Tech 3001D Series
12 pages
Print Icon
To Next Page IconTo Next Page
To Next Page IconTo Next Page
To Previous Page IconTo Previous Page
To Previous Page IconTo Previous Page
Loading...
SMART SAFE 3001D-1HL/3HL/5HL
SMART SAFE 3001D 1HL/3HL/5HL
6-11
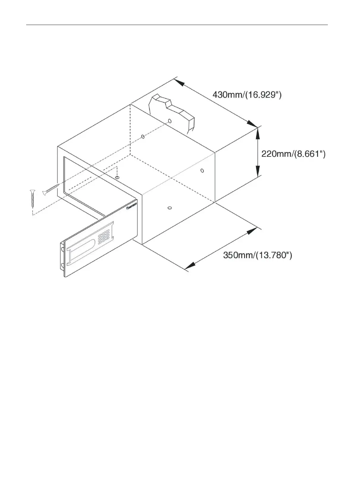
POSITION
Now you can position the smart safe on the top of a piece of furniture, or inside a cabinet. Lock it in place
using the 2 wooden screw provided with the smart safe. For fastening in place, the smart safe has 4 through
holes 2 on the back wall and 2 on the horizontal surface. The installer should use these, at his own
discretion, depending on where the smart safe is to be placed.

Related product manuals