EasyManua.ls Logo

Bell OH-58 C - Page 65

Bell OH-58 C
333 pages
Print Icon
To Next Page IconTo Next Page
To Next Page IconTo Next Page
To Previous Page IconTo Previous Page
To Previous Page IconTo Previous Page
Loading...
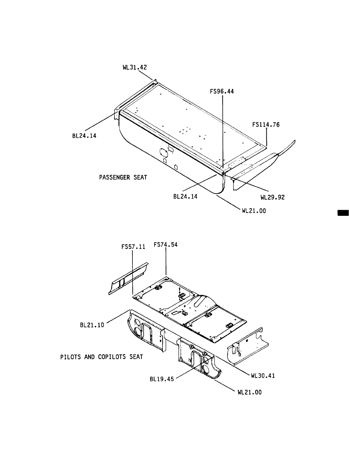
TM 55-1520-228-BD
AIRFRAME
Figure 4-11.
Fuselage Pylon Support Structure (Sheet 2 of 5)
4-21

Table of Contents

Related product manuals