EasyManua.ls Logo

Bellini BDW6WP - Spray Arm Cleaning; General Dishwasher Care; Protecting Against Freezing; Door Cleaning and Care

Bellini BDW6WP
27 pages
Print Icon
To Next Page IconTo Next Page
To Next Page IconTo Next Page
To Previous Page IconTo Previous Page
To Previous Page IconTo Previous Page
Loading...
18
WARNING!
Never run the dishwasher without the filters in place. When cleaning the filters, don't knock on them.
Otherwise, the filters could be contorted and the performance of dishwasher could be debased.
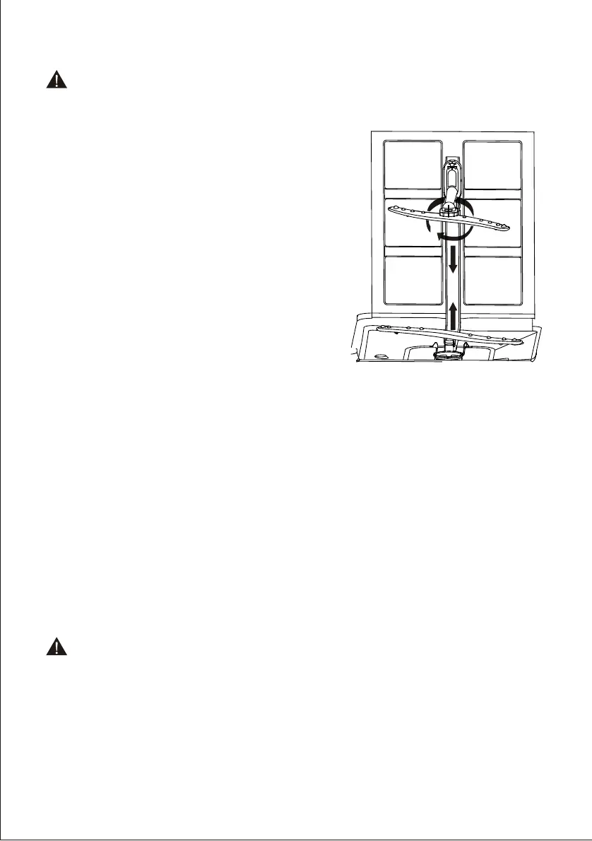
Cleaning the Spray Arms
It is necessary to clean the spray arms regularly for hard
water chemicals will clog the spray arm jets and bearings.
To remove the spray arms, screw off the nut clockwise to
take out the washer on top of the spray arm and remove the
arm. Wash the arms in soapy and warm water and use a soft
brush to clean the jets. Replace them after rinsing thoroughly.
Caring for the Dishwasher
To clean the control panel, use a lightly dampened cloth then
dry thoroughly.
To clean the exterior, use a good appliance polish wax.
Never use sharp objects, scouring pads or harsh cleaners
on any part of the dishwasher.
Protect Against Freezing
If your dishwasher is left in an unheated place during the winter, ask a service technical to:
1.Cut off electrical power to the dishwasher.
2.Turn off the water supply and disconnect the water inlet pipe from the water valve.
3.Drain water from the inlet pipe and water valve. (Use a pan to catch the water)
4.Reconnect the water inlet pipe to the water valve.
5.Remove the filter in the tub and the bottom and use a sponge to use up water in sump
Cleaning the Door
To clean the edge around the door, you should use only a soft warm, damp rag. To prevent
penetration of water into the door lock and electrical components, do not use a spray cleaner of any
kind.
Also, never use abrasive cleaners or scouring pads on the outer surfaces because they will scratch
the finish. Some papers towels can also scratch or leave marks on the surface.
WARNING!
Never use a spray cleaner to clean the door panel for it could damage the door lock and electrical
components. It is not allowed to use the abrasive agent or some paper towel because of the risk of
scratching or leaving spots on the stainless steel surface.
GSM Retail Australia Pty Ltd ABN: 53 007 582 475
For Warranty and technical queries: 1300 373 199 Aus Or 0508123108 NZ www.belliniappliances.com.au
Model: BDW6WP-F FN5104071 Aus, BDW6XP-F FN5104072 Aus Only 60CM Freestanding Dishwasher

Related product manuals