EasyManua.ls Logo

Belshaw Brothers H&I-2 - Page 13

Belshaw Brothers H&I-2
15 pages
Print Icon
To Next Page IconTo Next Page
To Next Page IconTo Next Page
To Previous Page IconTo Previous Page
To Previous Page IconTo Previous Page
Loading...
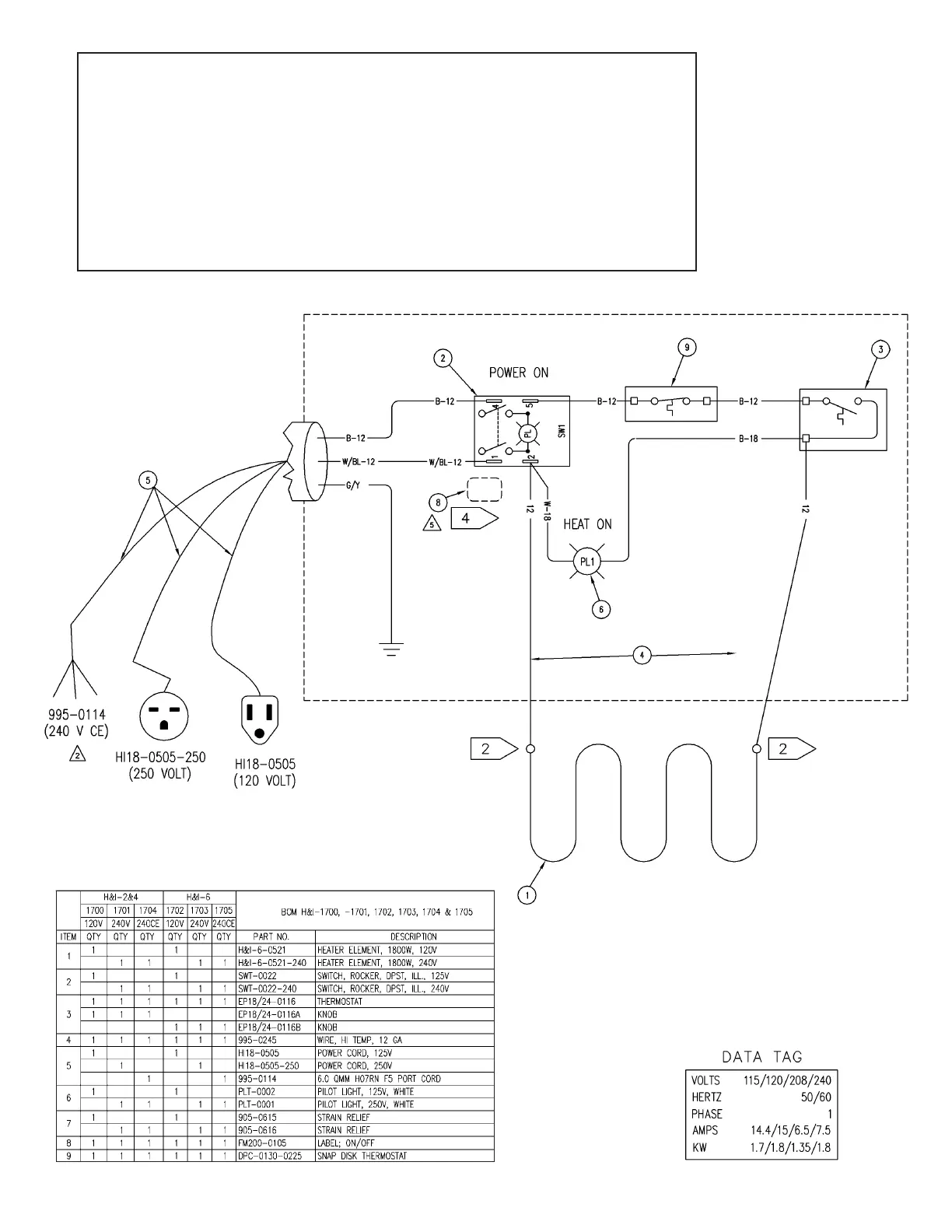
DIAGRAMS PAGE
5
© Belshaw Adamatic Bakery Group, Auburn, WA 98001 USA. All Rights Reserved. 07/17
DIAGRAM: H&I-4001
USE FOR
H&I-2, H&I-4 (All Models)
Item Numbers: 84900112, 849001221,
84900114, 84900124
TO IDENTIFY MODEL AND ITEM NUMBER, SEE DATA TAG ON ICER

Related product manuals