EasyManua.ls Logo

Bercomac Berco 700255-1 - Page 37

Bercomac Berco 700255-1
44 pages
Print Icon
To Next Page IconTo Next Page
To Next Page IconTo Next Page
To Previous Page IconTo Previous Page
To Previous Page IconTo Previous Page
Loading...
ASSEMBLAGE
6
ÉTAPE 1
PRÉPARATION DE LA SOUFFLEUSE:
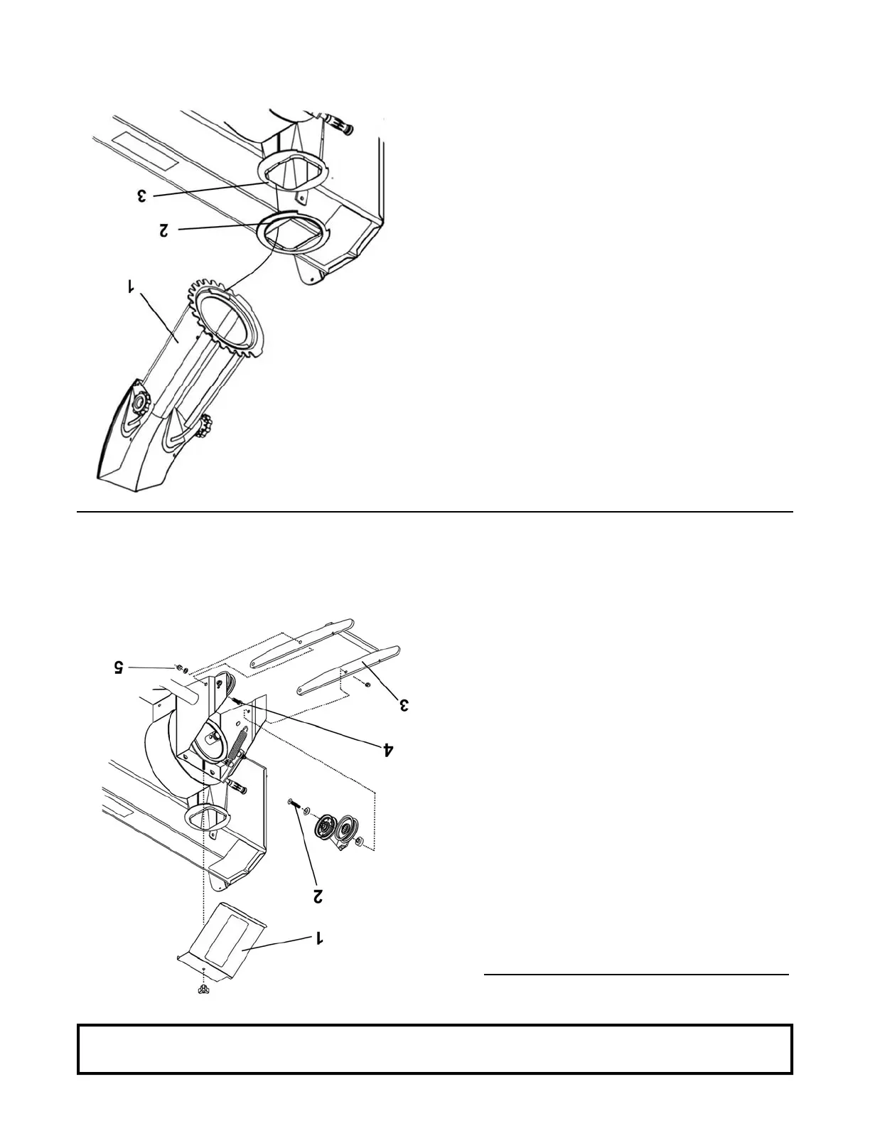
Enlever le garde-courroie (item 1) de la souffleuse.
Enlever le boulon (item 2) qui retient le levier de
tension.
Installer l’attache mâle (item 3) à la souffleuse et le
levier de tension avec le boulon enle
préalablement.
Assurez-vous de réinstaller le levier de tension tel
que démonté et qu’il bouge librement.
Utiliser trois boulons hex. de 7/16 x 1 1/4" (item 4),
rondelles de blocage et écrous à garniture de nylon
(item 5).
Serrer fermement.
Installer l’attache rapide
Installer la goulotte
Installer l’anneau de rotation (item 2) sur l’ouverture
(item 3) tel qu’illustré et aligner les encoches.
Placer la goulotte (item 1) (face vers l’arrière), accro-
cher l’arrière sous l’anneau de rotation et tourner la
goulotte vers l’avant pour la bloquer en place.

Related product manuals