EasyManua.ls Logo

Berner BLM 80 - Measuring Functions; Basic Settings; Simple Length Measurement; Area Measurement

Berner BLM 80
Print Icon
To Next Page IconTo Next Page
To Next Page IconTo Next Page
To Previous Page IconTo Previous Page
To Previous Page IconTo Previous Page
Loading...
English | 212 609 141 098 19.7.13
“Basic Settings
To access the “Basic settings” menu, press and
hold the basic settings button 4.
Briefly press the basic settings button 4 to select
the individual menu items.
Press the minus button 5 or the plus button 11 to
select the setting within the menu items.
To exit the “Basic settings” menu, press the meas-
urement button 2.
With exception of the “Permanent laser beam” set-
ting, all basic settings are retained when switching
off.
Continuous Laser Beam
Do not point the laser beam at persons or ani-
mals and do not look into the laser beam your-
self, not even from a large distance.
In this setting, the laser beam also remains
switched on between measurements; for measur-
ing, it is only required to press the measuring but-
ton 2 once.
Measuring Functions
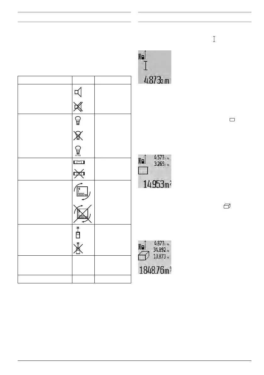
Simple Length Measurement
For length measurements, press button 12 until the
“length measurement” indication appears on the
display.
To switch the laser on and for
measuring, briefly press the meas-
uring button 2 once each time.
The measured value is displayed in
the result line c.
For several subsequent length measurements, the
last measured results are displayed in the meas-
ured-value lines a.
Area Measurement
For area/surface measurements, press button 12
until the indicator for area measurement ap-
pears on the display.
Afterwards, measure the length and the width, one
after another, in the same manner as a length
measurement. The laser beam remains switched
on between both measurements.
Upon completion of the second
measurement, the surface is auto-
matically calculated and displayed
in the result line c. The individual
measured values are displayed in
the measured-value lines a.
Volume Measurement
For volume measurements, press button 12 until
the indicator for volume measurement appears
on the display.
Afterwards, measure the length, width and the
height, one after another, in the same manner as
for a length measurement. The laser beam remains
switched on between all three measurements.
Upon completion of the third
measurement, the volume is auto-
matically calculated and displayed
in the result line c. The individual
measured values are displayed in
the measured-value lines a.
Values above 999999 m
3
cannot be indicated;
“ERROR” appears on the display. Divide the vol-
ume to be measured into individual measurements;
their values can then be calculated separately and
then summarized.
Continuous Measurement (Tracking) / Mini-
mum/Maximum Measurement (see figure B)
For continuous measurements, the measuring tool
can be moved relative to the target, whereby the
measuring value is updated approx. every
0.5 seconds. In this manner, as an example, you
can move a certain distance away from a wall, while
the actual distance can always be read.
Basic Settings
Tone Signals
On
Off
Display Illumination
On
Off
Auto on/off
Digital vial
On
Off
Display rotation
On
Off
Permanent laser beam
On
Off
Unit of measure, dis-
tance (depending on
country version)
m, ft, inch, ...
Unit of measure, angle
°, %, mm/m
OBJ_BUCH-1839-002.book Page 21 Friday, July 19, 2013 8:46 AM

Related product manuals